Operation CHARM: Car repair manuals for everyone.
Manuals through 2025 now available!

Our trusted friends have launched a new website named LEMON, which has newer manuals. It also contains all the CHARM manuals.

LEMON is the spiritual successor to CHARM, I recommend you try it!

Link: lemon-manuals.la or lemon-manuals.org.ua

(Some people have issue connecting. LEMON is investigating. For now, use Firefox or change your DNS server)

Or, hide this message: temporarily or permanently

Tightening Torque

Cylinder head bolt

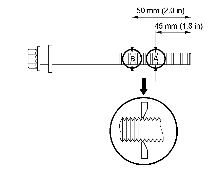
Measure the diameter of each cylinder head bolt at point A and point B.





If either diameter is less than 10.6 mm (0.42 in), replace the cylinder head bolt.





Step 1 39 Nm (4.0 kg-m, 29 lb-ft)
Step 2 90°
Step 3 additional 90°

If using a new bolt, tighten the bolt an extra 90°

Intake manifold Specifications

Camshaft gears Specifications