Operation CHARM: Car repair manuals for everyone.
Manuals through 2025 now available!

Our trusted friends have launched a new website named LEMON, which has newer manuals. It also contains all the CHARM manuals.

LEMON is the spiritual successor to CHARM, I recommend you try it!

Link: lemon-manuals.la or lemon-manuals.org.ua

(Some people have issue connecting. LEMON is investigating. For now, use Firefox or change your DNS server)

Or, hide this message: temporarily or permanently

Windshield: Service and Repair




Windshield Replacement

NOTE:

- Put on gloves to protect your hands.
- Wear eye protection while cutting glass adhesive with a piano wire.
- Use seat covers to avoid damaging any surfaces.
- Glass adhesive can be efficiently cut with a commercially available auto glass tool. See the tool manufacturer's instructions for details.

1. Remove these items:

- Cowl covers Service and Repair
- Rearview mirror
- Without automatic dimming mirror Rearview Mirror Replacement
- With automatic dimming mirror Rearview Mirror Replacement
- A-pillar trim, both sides Interior Trim Removal/Installation - Pillar Areas
- Roof molding, both sides

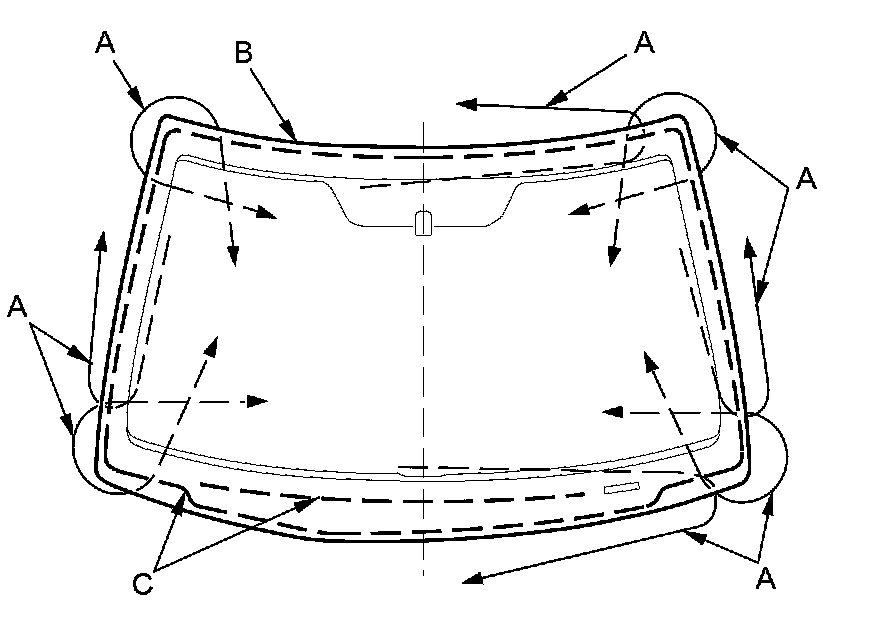
2. Remove the windshield molding (A) from the upper edge of the windshield (B). If necessary, cut the windshield molding with a utility knife.





3. If the old windshield will be reinstalled, make alignment marks across the glass and the body with a grease pencil.

4. Pull down the front area of the headliner Service and Repair. Take care not to bend the headliner excessively, or you may crease or break it.

5. Apply protective tape along the edge of the dashboard and the body. Make a hole with an awl through the rubber dam and the adhesive from inside the vehicle at a corner of the windshield. Push a piece of piano wire through the hole, and wrap each end around a piece of wood.

6. With a helper on the outside, pull the piano wire (A) back and forth in a sawing motion. Hold the piano wire as close to the windshield (B) as possible to prevent damage to the body and the dashboard. Carefully cut through the rubber dam and the adhesive (C) around the entire windshield.






Cutting positions





7. Carefully remove the windshield.

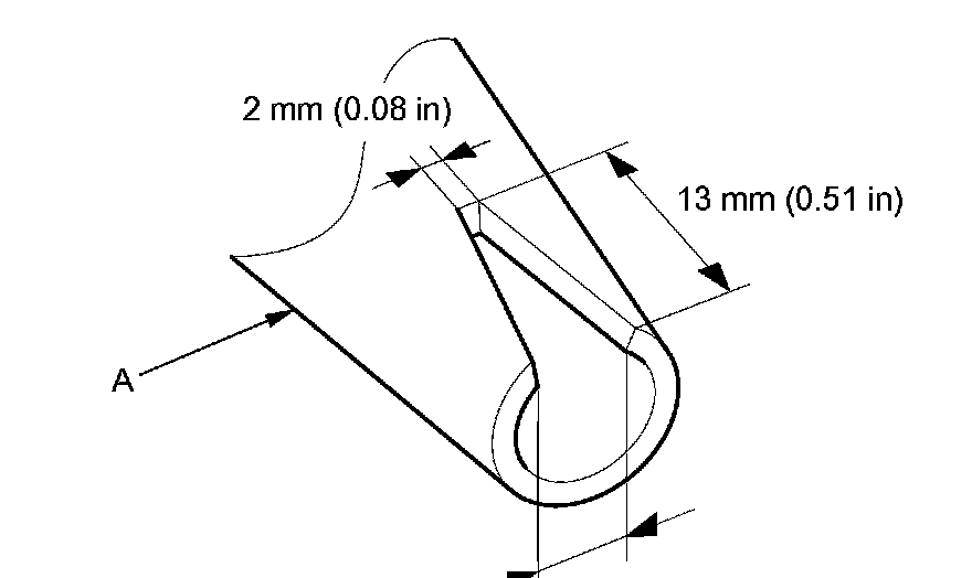
8. Scrape smooth the old adhesive with a knife until there is a thickness of about 2 mm (0.08 in) on the bonding surface around the entire windshield opening flange:

- Do not scrape down to the painted surface of the body; damaged paint will interfere with proper bonding.
- Remove the rubber dams from the body.

9. Clean the body bonding surface with a shop towel dampened in isopropyl alcohol. After cleaning, keep oil, grease, and water from getting on the clean surface.

10. If you are reinstalling the old windshield, use a putty knife to scrape off old adhesive, upper clips, and rubber dams from the windshield. Clean the bonding surfaces on the inside face and the edge of the windshield with isopropyl alcohol. Make sure the bonding surface is kept free of water, oil, and grease.

11. With automatic dimming rearview mirror: If the windshield will be replaced with a new one, attach the new rearview mirror harness cover base to the inside face of the windshield Rearview Mirror Harness Cover Base Replacement (4-Door).

12. Apply glass primer to the upper clips mounting areas on the windshield (B), and let it dry. Remove the adhesive backing and attach the rubber dam A and the upper clips (C) to the inside of the windshield as shown:

- Make sure the rubber dams and the upper clips line up with the alignment marks (D).
- With the printed dots (E) on the windshield as a guide, attach rubber dam A to both bottom corners of the windshield.
- Be sure the index tabs (F) of the upper clips face the right side.
- Be careful not to touch the windshield where the adhesive will be applied.





13. Attach rubber dam B with adhesive tape to the inside surface of the windshield (A) as shown, using the edge of the black ceramic-coated area (C) as a guide.

- Be sure the rubber dam lines up with the alignment marks (D).
- - Be careful not to touch the windshield where the adhesive will be applied.





14. Attach the windshield molding (A) with adhesive tape (B) to the upper edge of the windshield (C). Be careful not to touch the windshield where the adhesive will be applied.

2-door





4-door





15. Attach the windshield upper seal (A) with adhesive tape to the inside surface of the windshield molding (B) as shown.






16. If you are installing a new windshield, set the windshield in the opening, and center it. Make alignment marks (A) across the windshield and the body with a grease pencil at the four points shown. Make sure the pins (B) of both upper clips (C) contact with the edge of the body holes. Be careful not to touch the windshield where the adhesive will be applied.





17. Remove the windshield.

18. Apply a light coat of glass primer to the windshield (A) along the edge of the windshield molding (B) and the rubber dams (C) as shown, then lightly wipe it off with gauze or cheesecloth:

- Apply glass primer to the molding.
- Do not apply body primer to the windshield, and do not mix up the body primer applicators and the glass primer applicators.
- Never touch the primed surfaces with your hands. If you do, adhesive may not bond to the windshield properly, causing a leak after the windshield is installed.
- Keep water, dust, and abrasive materials away from the primed surfaces.





19. Carefully apply a light coat of body primer to any exposed paint or metal around the flange where new adhesive will be applied. Let the body primer dry for at least 10 minutes:

- Do not apply body primer to any remaining original adhesive on the flange.
- Be careful not to mix up the body and the glass primer sponge applicators.
- Never touch the primed surfaces with your hands.
- Cover on the dashboard before applying the primer.





20. Cut a "V" in the end of the nozzle (A) on the adhesive cartridge as shown.






21. Put the cartridge in a caulking gun, and run a continuous bead of the adhesive (A) around the windshield (B) along the edge of the windshield molding (C) and the rubber dams (D) as shown. Apply adhesive within 30 minutes after applying the glass primer. Make a slightly thicker bead at each corner.





22. Hold the windshield with suction cups over the opening, align it with the alignment marks made in step 16 Service and Repair, and set it down on adhesive. Lightly push on the windshield until its edges are fully seated on adhesive all the way around.

NOTE: Do not open or close any of the doors for about an hour until adhesive is dry.

23. Remove the excess adhesive with a putty knife or a shop towel dampened with isopropyl alcohol.

24. Wait at least an hour for the adhesive to dry, then spray water over the windshield and check for leaks. Mark leaking areas, and let the windshield dry, then seal with sealant. Let the vehicle stand for at least 4 hours after windshield installation. If the vehicle has to be used within the first 4 hours, it must be driven slowly.

25. Reinstall all remaining removed parts.

NOTE: Advise the customer not to do the following things for 2 to 3 days:

- Slam the doors with all the windows rolled up.
- Twist the body excessively (such as when going in and out of driveways at an angle or driving over rough, uneven roads).