Operation CHARM: Car repair manuals for everyone.
Manuals through 2025 now available!

Our trusted friends have launched a new website named LEMON, which has newer manuals. It also contains all the CHARM manuals.

LEMON is the spiritual successor to CHARM, I recommend you try it!

Link: lemon-manuals.la or lemon-manuals.org.ua

(Some people have issue connecting. LEMON is investigating. For now, use Firefox or change your DNS server)

Or, hide this message: temporarily or permanently

Power Mirror Motor: Service and Repair




Power Mirror Actuator Replacement

Removal

1. Remove these items:

- Remove the mirror holder Mirror Holder Replacement.

- Remove the power mirror Power Mirror Replacement.

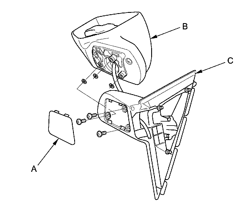
2. Remove the gasket (A), then remove the screw and power mirror 8P connector (B) from the mirror (C).





3. Cut the mirror actuator wires with the wire cutter.

4. Remove the cover (A).





5. Remove the three screws, and separate the mirror housing (B) from the bracket (C).

6. Remove the three screws (A) and actuator bracket (B) from the housing (C).





7. Remove the four screws (D) and the actuator (E) from the actuator housing.

Installation

1. Route the wire harness of the new actuator through the hole in the bracket, then install the parts in the reverse order of removal.

2. Route the wire harness (A) of a new actuator through the hole in the bracket (B).





3. Reassemble the mirror in the reverse order of removal. Apply LOCTITE to the three screws (B) and tighten to 4.4 Nm (0.45 kg-m, 3.2 lb-ft).

4. Insert the new actuator terminals into the connector in the original arrangement.





5. Apply EPT sealer to the intersection of the wire harness and the 8P connector, then install the 8P connector in the reverse order of removal.

6. Install the gasket in the reverse order of removal.

7. Reassemble in the reverse order of disassembly.

NOTE: Be careful not to break the mirror when reinstalling it to the actuator.

8. Reinstall the mirror assembly on the door.

9. Operate the power mirror to ensure smooth operation.