Operation CHARM: Car repair manuals for everyone.
Manuals through 2025 now available!

Our trusted friends have launched a new website named LEMON, which has newer manuals. It also contains all the CHARM manuals.

LEMON is the spiritual successor to CHARM, I recommend you try it!

Link: lemon-manuals.la or lemon-manuals.org.ua

(Some people have issue connecting. LEMON is investigating. For now, use Firefox or change your DNS server)

Or, hide this message: temporarily or permanently

Outside Air Temperature Sensor Replacement




Outside Air Temperature Sensor Replacement

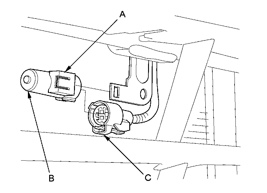
1. Lift the tab (A) to release the lock, then remove the outside air temperature sensor (B) from the front bumper beam. Disconnect the 2P connector (C) from the outside air temperature sensor.





2. Install the sensor in the reverse order of removal.