Operation CHARM: Car repair manuals for everyone.
Manuals through 2025 now available!

Our trusted friends have launched a new website named LEMON, which has newer manuals. It also contains all the CHARM manuals.

LEMON is the spiritual successor to CHARM, I recommend you try it!

Link: lemon-manuals.la or lemon-manuals.org.ua

(Some people have issue connecting. LEMON is investigating. For now, use Firefox or change your DNS server)

Or, hide this message: temporarily or permanently

Climate Control Switch Removal/Installation




Climate Control Switch Bulb Replacement

1. Remove the driver's climate control switch.

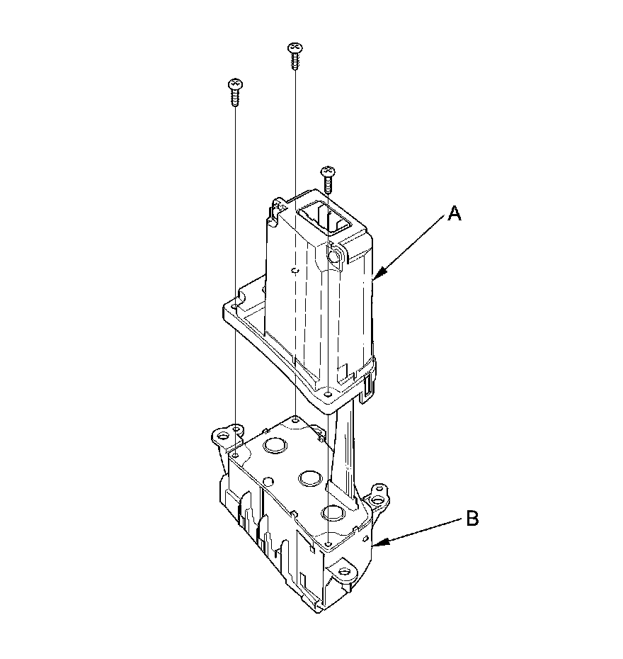
2. Remove the screws and cover (A) from the driver's climate control switch (B).






3. Remove the bulb(s) (A) with a flat-tip screwdriver.





4. Install the bulb(s) in the reverse order of removal. After installation, operate the various functions to see whether it works properly.