Operation CHARM: Car repair manuals for everyone.
Manuals through 2025 now available!

Our trusted friends have launched a new website named LEMON, which has newer manuals. It also contains all the CHARM manuals.

LEMON is the spiritual successor to CHARM, I recommend you try it!

Link: lemon-manuals.la or lemon-manuals.org.ua

(Some people have issue connecting. LEMON is investigating. For now, use Firefox or change your DNS server)

Or, hide this message: temporarily or permanently

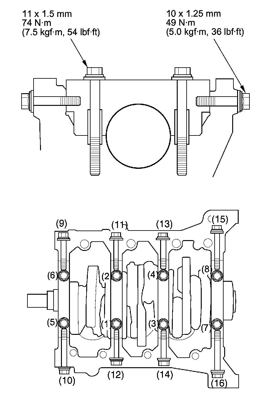
Crankshaft Main Bearing




Crankshaft bearing





Crankshaft bearing caps





Repeat the torque sequence again to ensure the bolts are properly torqued

Block Bore Code Locations









Main Journal Code Locations (Numbers or Bars)