Operation CHARM: Car repair manuals for everyone.
Manuals through 2025 now available!

Our trusted friends have launched a new website named LEMON, which has newer manuals. It also contains all the CHARM manuals.

LEMON is the spiritual successor to CHARM, I recommend you try it!

Link: lemon-manuals.la or lemon-manuals.org.ua

(Some people have issue connecting. LEMON is investigating. For now, use Firefox or change your DNS server)

Or, hide this message: temporarily or permanently

Overhaul




Alternator Overhaul

Exploded View





Special Tools Required

- Driver Handle, 15 x 135L 07749-0010000
- Bearing Driver Attachment, 42 x 47 mm 07746-0010300

NOTE: Refer to the Exploded View if needed during this procedure.

1. Test the alternator and regulator before you remove them Alternator and Regulator Circuit Troubleshooting.

2. Remove the alternator Removal and Replacement.

3. Except '11 model J35Z2 engine: If the front bearing needs replacing, remove the pulley locknut with a 10 mm wrench (A) and a 22 mm wrench (B). If necessary, use an impact wrench.





4. '11 model J35Z2 engine: Remove the over-run alternator decoupler (OAD) pulley.

5. Remove the three flange nuts.






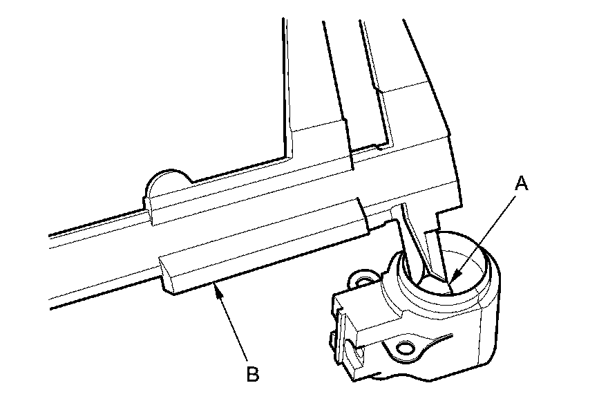
6. Remove the end cover (A) and the terminal insulator (B).






7. Remove the brush holder assembly (A).






8. Remove the four through bolts, then remove the rear housing assembly (A) and the washer (B).






9. If you are not replacing the front bearing, go to step 14. Remove the rotor from the drive-end housing.






10. Inspect the rotor shaft for scoring, and inspect the bearing journal surface in the drive-end housing for seizure marks.

- If the rotor is damaged, replace the rotor assembly.
- If the rotor is OK, go to step 11.

11. Remove the front bearing retainer.






12. Drive out the front bearing with a brass drift and a hammer.






13. Install a new front bearing in the drive-end housing with a hammer, the driver handle, 15 x 135L, and the bearing driver attachment, 42 x 47 mm.






Alternator Brush Inspection

14. Measure the length of both brushes (A) with a vernier caliper (B).

- If either brush is shorter than the service limit, replace the brush holder assembly.
- If the brush length is OK, go to step 15.










Rotor Slip Ring Test

15. Check for continuity between the slip rings (A).

- If there is continuity, go to step 16.
- If there is no continuity, replace the rotor assembly.





16. Check for continuity between each slip ring and the rotor (B) and the rotor shaft (C).

- If there is no continuity, go to step 17.
- If there is continuity, replace the rotor assembly.

Alternator Reassembly

17. Except '11 model J35Z2 engine: If you removed the pulley, put the rotor in the drive-end housing, then torque its locknut to 110 Nm (11.2 kg-m, 81.0 lb-ft).

18. '11 model J35Z2 engine: Install the over-run alternator decoupler (OAD) pulley.

19. Remove any grease or any oil from the slip rings.

20. Put the rear housing assembly and the drive-end housing/rotor assembly together, tighten the four through bolts.

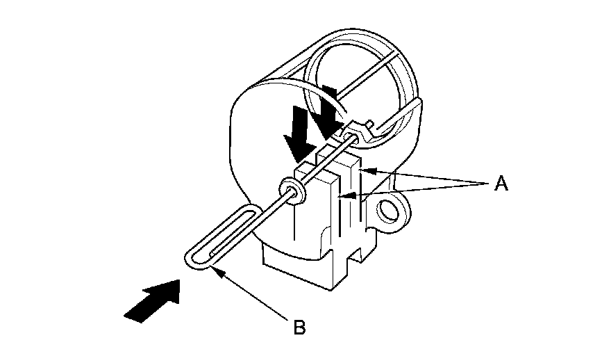
21. Push the brushes (A) in, then insert a pin or drill bit (B) (about 1.6 mm (1/16 in) diameter) to hold them there.






22. Install the brush holder assembly, and pull out the pin or drill bit.





23. Install the end cover.

24. After assembling the alternator, turn the pulley by hand to make sure the rotor turns smoothly and without noise.

25. Install the alternator Removal and Replacement.