Operation CHARM: Car repair manuals for everyone.
Manuals through 2025 now available!

Our trusted friends have launched a new website named LEMON, which has newer manuals. It also contains all the CHARM manuals.

LEMON is the spiritual successor to CHARM, I recommend you try it!

Link: lemon-manuals.la or lemon-manuals.org.ua

(Some people have issue connecting. LEMON is investigating. For now, use Firefox or change your DNS server)

Or, hide this message: temporarily or permanently

Front Door Window Glass: Service and Repair




Front Door Glass and Regulator Replacement

NOTE: Put on gloves to protect your hands.

1. Remove the door panel:

- 2-door Front Door Panel Removal/Installation (2-Door)
- 4-door Front Door Panel Removal/Installation (4-Door)

2. 2-door: Remove the screws, then remove the door panel bracket (A).






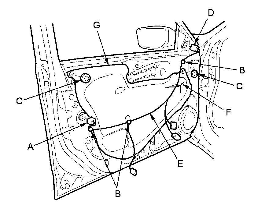
3. Disconnect the power door lock actuator connector (A), and detach the harness clips (B). Remove the plug caps (C). 4-door: Disconnect the power mirror connector (D).

2-door





4-door





4. Pass the wire harness (E) through the slit (F) in the plastic cover (G), then remove the plastic cover.

NOTE: If the plastic cover is damaged or torn, replace it with a new one.

5. 4-door: Remove the bolts, and release the hook (A), then remove the door panel bracket (B).






6. Lower the glass (A) until you can see the bolts, then remove them. Carefully pull the glass out through the window slot. Take care not to drop the glass inside the door.

2-door





4-door





7. Disconnect the connector (A) from the regulator (B).

2-door





4-door





8. Remove the bolts (C), and loosen the bolts (D). Release the hook (E), then remove the regulator through the hole in the door.

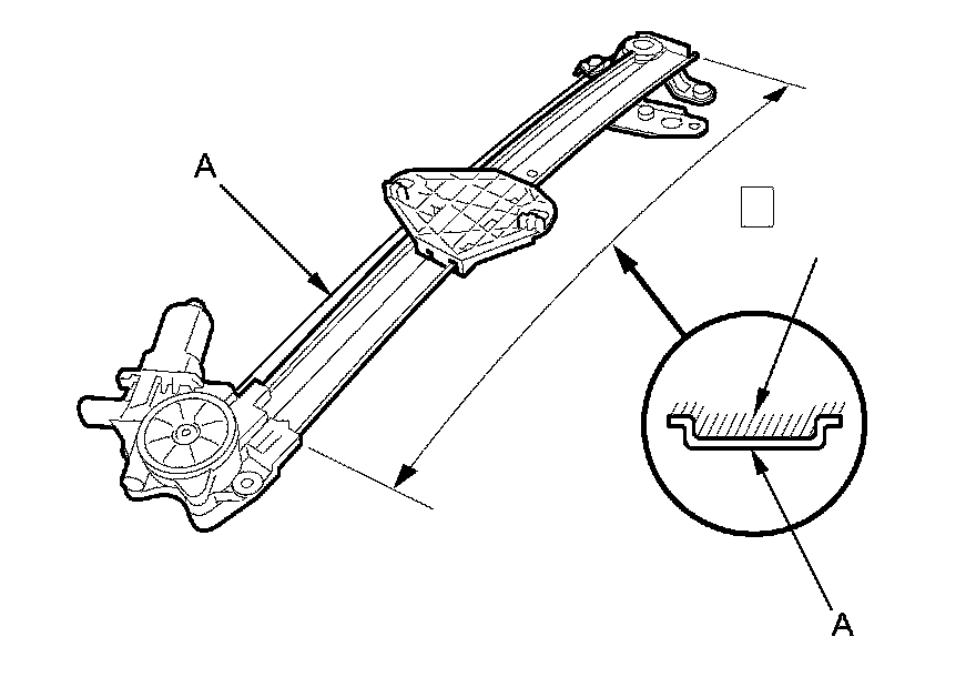
9. Apply multipurpose grease to all the sliding surfaces of the regulator (A) where shown. 4-door is shown; 2-door is similar.





10. Install the glass and the regulator in the reverse order of removal, and note these items:

- If the clips are damaged or stress-whitened, replace them with new ones.
- Roll the glass up and down to make sure it moves freely without binding.
- Make sure that there is no clearance between the glass and glass run channel when the glass is closed.
- Make sure the connector is plugged in properly.
- Adjust the position of the glass as necessary Adjustments.
- Do the power window control unit reset procedure Testing and Inspection.
- Make sure the plastic cover on the door is installed properly and sealed around its outside perimeter to seal out water.
- Push the clips and the hooks into place securely.
- Check for water leaks Adjustments.
- Make sure the power door locks, windows and power mirror operate properly.
- Test-drive and check for wind noise and rattles.