Operation CHARM: Car repair manuals for everyone.
Manuals through 2025 now available!

Our trusted friends have launched a new website named LEMON, which has newer manuals. It also contains all the CHARM manuals.

LEMON is the spiritual successor to CHARM, I recommend you try it!

Link: lemon-manuals.la or lemon-manuals.org.ua

(Some people have issue connecting. LEMON is investigating. For now, use Firefox or change your DNS server)

Or, hide this message: temporarily or permanently

Wiper Blade: Service and Repair




Wiper Blade Replacement

4-door ('08-10 models)

1. Lift the wiper arm off the windshield, raising the driver's side first, then the passenger's side.

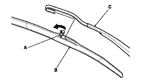
2. Pull up the tab (A), and slide the wiper blade (B) until it releases from the wiper arm (C).






3. Find the blade labeled "SET" (A), then release the blade from it.

4. Pull back the end of the blade and slide out the old rubber (B).

5. Install a new rubber in the reverse order of removal.

6. Install the wiper blades onto the windshield wiper arms in the reverse order of removal.

7. Test by turning on the wipers. If the blades slip, turn off the wipers and seat the attachments more firmly.