Operation CHARM: Car repair manuals for everyone.
Manuals through 2025 now available!

Our trusted friends have launched a new website named LEMON, which has newer manuals. It also contains all the CHARM manuals.

LEMON is the spiritual successor to CHARM, I recommend you try it!

Link: lemon-manuals.la or lemon-manuals.org.ua

(Some people have issue connecting. LEMON is investigating. For now, use Firefox or change your DNS server)

Or, hide this message: temporarily or permanently

Connecting Rod: Service and Repair




Piston, Pin, and Connecting Rod Replacement

Special Tools Required

- Piston Base Head 07PAF-0010400
- Piston Base Head Insert 07PAF-0010500
- Insert Pin 07PAF-0010700
- Pilot Pin 070AF-PWC0110
- Insert Adjust 070AF-PWC0120
- Pilot Collar, O.D. 18 mm 070AF-PWC0130
- Piston Base 07973-6570500
- Piston Base Spring 07973-6570600

Disassembly

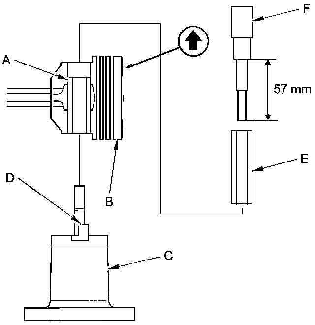
1. Assemble the special tool as shown.






2. Temporarily install the pilot collar, O. D. 18 mm over the pilot pin (A), and adjust the piston base head insert as shown, then tighten the screws (B). Remove the pilot collar.






3. Assemble and adjust the length of the insert pin and the insert adjust to 57 mm (2.2 in).






4. With the arrow on top of the piston pointing up, place the piston assembly (A) on the piston base head (B).
Be sure you position the recessed flat area of the piston against the piston base head insert (C) as shown.





5. Press the pin (D) out with the insert pin and the insert adjust (E), the pilot collar (F), and a hydraulic press.

Inspection

NOTE: Inspect the piston, the piston pin, and the connecting rod when they are at room temperature.

1. Measure the diameter of the piston pin.

Piston Pin Diameter










2. Zero the dial indicator to the piston pin diameter.






3. Check the difference between the piston pin diameter and the piston pin hole diameter in the piston.

Piston Pin-to-Piston Clearance










4. Measure the piston pin-to-connecting rod clearance.

Piston Pin-to-Connecting Rod Interference










Reassembly

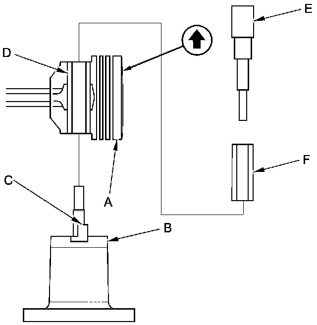
1. Assemble the piston and the connecting rod with the arrow (A) and the embossed mark (B) on the same side.






2. Insert the pilot collar (A) into the piston and the connecting rod.






3. With the arrow on top of the piston and the embossed mark on the connecting rod facing up, place the piston assembly (B) on the piston base head (C). Be sure you position the recessed flat area of the piston against the area of the piston base head insert (D) as shown.

4. Press the pin (E) in with the insert pin and the insert adjust (F) and a hydraulic press.