Operation CHARM: Car repair manuals for everyone.
Manuals through 2025 now available!

Our trusted friends have launched a new website named LEMON, which has newer manuals. It also contains all the CHARM manuals.

LEMON is the spiritual successor to CHARM, I recommend you try it!

Link: lemon-manuals.la or lemon-manuals.org.ua

(Some people have issue connecting. LEMON is investigating. For now, use Firefox or change your DNS server)

Or, hide this message: temporarily or permanently

Voltage Converter: Service and Repair




DC-DC Converter Removal/Installation

IMA components are located in this area. The IMA is a high-voltage system. You must be familiar with the IMA system before working on or around it. Make sure you have read the IMA service precautions before doing repairs or service High Voltage Safety.

1. Make sure the ignition switch is in LOCK (0).

2. Do the 12 volt battery terminal disconnection procedure.

3. Remove the MCM.

4. Remove the IMA motor power cables (A).

NOTE: Check the position of the U phase, the V phase, and the W phase cables before disconnecting them.






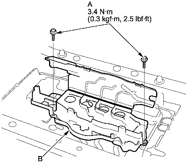
5. Remove the DC-DC converter cable (B), and wrap it with insulating tape.

6. Remove the bolts (A) and the terminal cover (B).






7. Disconnect the DC-DC converter connector (A).





8. Remove the bolts (B) and the busbar (C).

9. Remove the bolts (D, E) and the DC-DC converter (F).

10. Install the parts in the reverse order of removal.

11. Do the 12 volt battery terminal reconnection procedure.