Operation CHARM: Car repair manuals for everyone.
Manuals through 2025 now available!

Our trusted friends have launched a new website named LEMON, which has newer manuals. It also contains all the CHARM manuals.

LEMON is the spiritual successor to CHARM, I recommend you try it!

Link: lemon-manuals.la or lemon-manuals.org.ua

(Some people have issue connecting. LEMON is investigating. For now, use Firefox or change your DNS server)

Or, hide this message: temporarily or permanently

Voltage Inverter Module: Service and Repair




Motor Power Inverter (MPI) Module Removal/Installation

WARNING
The IMA motor power cables carry high voltage when the engine is running or the IMA system is energized. To avoid serious injury from electrical shock, do not start the engine with the IMA motor power cables disconnected.

IMA components are located in this area. The IMA is a high-voltage system. You must be familiar with the IMA system before working on or around it. Make sure you have read the IMA service precautions before doing repairs or service High Voltage Safety.

1. Remove the MCM.

2. Remove the DC-DC converter Service and Repair.

3. Remove the IMA motor power cables (A).

NOTE: Check the position of the U phase, the V phase, and the W phase cables before disconnecting them.






4. Remove the DC-DC converter cable (B), and wrap it with insulating tape.

5. Remove the bolts (A) and the terminal cover (B).






6. Disconnect the phase motor current sensor connector (A).






7. Remove the bolts (B, C) and the phase motor current sensor (D).

8. Remove the bolts (A, B) and the PCU wire harness (C).






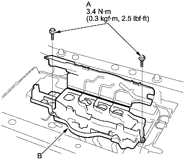
9. Remove the bolts (A) and the MPI module (B).






10. Install the parts in the reverse order of removal.

11. Do the motor rotor position calibration procedure.