Operation CHARM: Car repair manuals for everyone.
Manuals through 2025 now available!

Our trusted friends have launched a new website named LEMON, which has newer manuals. It also contains all the CHARM manuals.

LEMON is the spiritual successor to CHARM, I recommend you try it!

Link: lemon-manuals.la or lemon-manuals.org.ua

(Some people have issue connecting. LEMON is investigating. For now, use Firefox or change your DNS server)

Or, hide this message: temporarily or permanently

Reading and Clearing Diagnostic Trouble Codes




How to Troubleshoot the CVT System

How to Check for DTCs with the Honda Diagnostic System (HDS)

When the powertrain control module (PCM) senses an abnormality in the input or output system, the D indicator (A) in the gauge control module (B) will usually blink.





When the Honda Diagnostic System (HDS) is connected to the data link connector (DLC) (A) located under the driver's side of the dashboard and the SCS mode is selected, it will indicate the diagnostic trouble code (DTC) when the ignition switch is turned to ON (II) and the appropriate menu is selected.






If the D indicator and/or the malfunction indicator lamp (MIL) come on, or if a driveability problem is suspected, follow this procedure:

1. Connect the HDS to the DLC. (See the HDS user's manual for specific instructions.)

2. Turn the ignition switch to ON (II).

3. Make sure the HDS communicates with the PCM. If it does not, go to the DLC circuit troubleshooting DLC Circuit Troubleshooting (PGM-FI System).

4. Check for Pending or Confirmed DTCs with the HDS.

5. Record the freeze data and the on-board snapshot for all fuel and emissions DTCs and A/T DTCs.

6. If there is a fuel and emissions DTC, first check the fuel and emissions system as indicated by the DTC.

7. Clear the DTC(s) and the data with the HDS.

8. Drive the vehicle for several minutes under the same conditions as those indicated by the freeze data, and then recheck for a DTC. If the A/T DTC returns, go to the indicated DTC's troubleshooting. If the DTC does not return, there was an intermittent problem within the circuit. Make sure all pins and terminals in the circuit are tight.

Symptom Troubleshooting Versus DTC Troubleshooting

Some symptoms will not set DTCs or cause the D indicator to blink. If the MIL has been reported ON or the D indicator has been blinking, check for DTCs. If the vehicle has an abnormal symptom, and there are no DTCs stored, do the symptom troubleshooting. Check the list of probable cause(s) for the symptom, until you find the problem.

How to Check for DTCs with the SCS Mode (retrieving the flash codes)

NOTE: The preferred method is to use the HDS to retrieve the DTCs.

When the PCM senses an abnormality in the input or output system, the D indicator (A) in the gauge control module (tach) (B) will usually blink.





When the D indicator has been reported on, connect the HDS to the DLC (A) located under the driver's side of the dashboard. Turn the ignition switch to ON (II), select the SCS mode, then the D indicator will indicate (blink) the DTC.






If the D indicator and/or the MIL come on or if a driveability problem is suspected, follow this procedure:

1. Connect the HDS to the DLC. (See the HDS user's manual for specific instructions.)

2. Turn the ignition switch to ON (II).

3. Make sure the HDS communicates with the PCM. If it does not, go to the DLC circuit troubleshooting DLC Circuit Troubleshooting (PGM-FI System).

4. Select the SCS mode, then observe the D indicator in the gauge control module (tach).

Codes 1 through 9 are indicated by individual short blinks. Codes 10 and above are indicated by a series of long and short blinks. One long blink equals 10 short blinks. Add the long and short blinks together to determine the code.





5. Record all fuel and emissions DTCs and A/T DTCs.

6. If there is a fuel and emissions DTC, first check the fuel and emissions system as indicated by the DTC.

7. Clear the DTC(s) and the data with the HDS.

8. If the freeze data is available, drive the vehicle for several minutes with periods of wide open throttle, steady cruise, and stop and go, and then recheck for DTCs. If the A/T DTC returns, go to the indicated DTC's troubleshooting. If the DTC does not return, there was an intermittent problem within the circuit. Make sure all pins and terminals in the circuit are tight.

How to Troubleshoot Circuits at the PCM Connectors

NOTE: The PCM overwrites data and monitors the EVAP system for about 30 minutes after the ignition switch is turned to LOCK (0). Jumping the SCS line after turning the ignition switch to LOCK (0) cancels this function. Disconnecting the PCM during this function, without jumping the SCS line first, can damage the PCM.

1. Jump the SCS line with the HDS.

2. Remove the cover (A).






3. Remove the bolts (D).





4. Disconnect PCM connectors A, B, and C, then remove the PCM (E).

NOTE: PCM connectors A, B, and C have symbols (A=(square), B=(triangle), C=(circle)) embossed on them for identification.

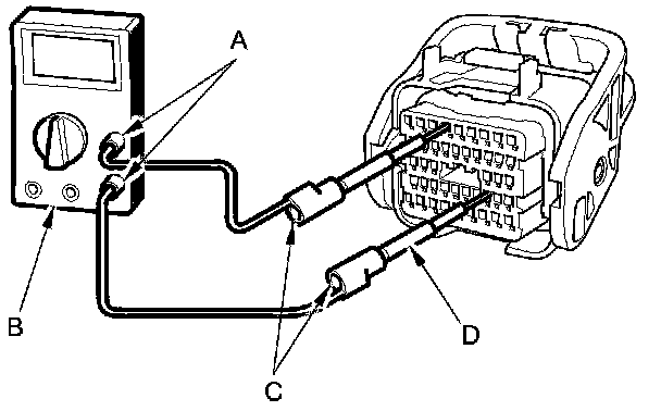
5. When diagnosis/troubleshooting is done at the PCM connector, use the terminal test port (A) above the terminal you need to check.






6. Connect one side of the patch cord terminals (A) to a commercially available digital multimeter (B), and connect the other side of the patch cord terminals (C) to a commercially available banana jack (Pomona Electronics Tool No. 3563 or equivalent) (D).





7. Gently insert the pin probe (male) at the test port from the terminal side. Do not force the tips into the terminals.

NOTICE
- For accurate results, always use the pin probe (male).
- To prevent damage to the connector terminals, do not insert test equipment probes, paper clips, or other substitutes as they can damage the terminals. Damaged terminals cause a poor connection, and an incorrect measurement.
- Do not puncture the insulation on a wire. Punctures can cause poor or intermittent electrical connections.



Clear A/T DTCs Procedure

1. Connect the HDS to the DLC (A) located under the driver's side of the dashboard.





2. Turn the ignition switch to ON (II).

3. Make sure the HDS communicates with the PCM. If it does not, go to the DLC circuit troubleshooting DLC Circuit Troubleshooting (PGM-FI System).

4. Clear the DTC(s) on the HDS screen.

PCM/TCM Reset

NOTE: To reset the PCM/TCM, initialize only the automatic transmission memory stored in the PCM or the TCM.

1. Select the A/T SYSTEM with the HDS.

2. Reset the PCM/TCM with the HDS while the engine is stopped.

3. Turn the ignition switch to LOCK (0).

4. Turn the ignition switch to ON (II), and wait 30 records.

5. Turn the ignition switch to LOCK (0), and disconnect the HDS from the DLC.

6. Do the PCM idle learn procedure PCM Idle Learn Procedure.

OBD Status

The OBD status shows the current system status of each DTC and all of the parameters. This function is used to see if a repair was successfully completed. The results of diagnostic tests for the DTC are displayed as:

- PASSED: The on-board diagnosis is successfully completed.
- FAILED: The on-board diagnosis has completed but failed.
- NOT COMPLETED: The on-board diagnosis was running but is out of the enable conditions of the DTC.

How to End a Troubleshooting Session (required after any troubleshooting)

NOTE: Reset the PCM/TCM with the HDS while the engine is stopped.

1. Turn the ignition switch to LOCK (0).

2. Turn the ignition switch to ON (II), and wait for 30 seconds.

3. Turn the ignition switch to LOCK (0), and disconnect the HDS from the DLC.

4. Do the PCM idle learn procedure PCM Idle Learn Procedure.

5. Start the engine with the shift lever in P or N, and warm it up to normal operating temperature (the radiator fan comes on twice).

6. To verify that the problem is repaired, test-drive the vehicle for several minutes at speeds over 31 mph (50 km/h) or under the same conditions as those indicated by the freeze data.

PCM Updating and Substitution for Testing

Special Tools Required

- Honda Interface Module (HIM)

Use this procedure when you have to substitute a known-good PCM in a troubleshooting procedure. Update the PCM only if the PCM does not already have the latest software loaded.

NOTE: Do not turn the ignition switch to LOCK (0) while updating the PCM. If you turn the ignition switch to LOCK (0) before completion, the PCM can be damaged.

How to Update the PCM

Refer to How to Update the PCM PCM Update.

Substitute the PCM

Refer to Substituting the PCM.

Failure Reproduction Technique

Be careful of the following points while the vehicle is raising on a lift for the test-drive.

- Disable the VSA by pressing the VSA OFF button (if equipped).
- A DTC or a Pending DTC may be set during the test-driving. Check for DTCs, and clear them as needed.

Self-Diagnosis

If the PCM detects the failure of a signal from a sensor, a switch, a solenoid valve, or another control unit, it stores Pending or Confirmed DTCs. Depending on the failure, a Confirmed DTC is stored in either the first or the second drive cycle. When a Confirmed DTC is stored, the PCM blinks the D indicator and/or turns on the MIL by a signal sent to the gauge control module via F-CAN.

- One Drive Cycle Detection Method:
When an abnormality occurs in the signal from a sensor, a switch, a solenoid valve, or another control unit, the PCM stores a Pending or Confirmed DTC for the failure and blinks the D indicator and/or turns on the MIL immediately.
- Two Drive Cycle Detection Method:
When an abnormality occurs in the signal from a sensor, a switch, a solenoid valve, or another control unit in the first drive cycle, the PCM stores a Pending DTC. The D indicator and the MIL do not turn on at this time. If the failure continues in the second drive cycle, the PCM stores a Confirmed DTC and blinks the D indicator and/or turns on the MIL.

Fail-Safe Function

When an abnormality occurs in the signal from a sensor, a switch, a solenoid valve, or another control unit, the PCM ignores that signal and substitutes a pre-programmed for that signal to allow the automatic transmission to continue operating. This causes a DTC to be stored and the D indicator to blink and/or the MIL to come on. The transmission may not shift normally during fail-safe operation. Do not run the test-driving diagnosis when the MIL is ON, or the D indicator is blinking.