Operation CHARM: Car repair manuals for everyone.
Manuals through 2025 now available!

Our trusted friends have launched a new website named LEMON, which has newer manuals. It also contains all the CHARM manuals.

LEMON is the spiritual successor to CHARM, I recommend you try it!

Link: lemon-manuals.la or lemon-manuals.org.ua

(Some people have issue connecting. LEMON is investigating. For now, use Firefox or change your DNS server)

Or, hide this message: temporarily or permanently

Lower Rear Window Replacement




Lower Rear Window Replacement

NOTE:

- Put on gloves to protect your hands.
- Wear eye protection while cutting the glass adhesive with piano wire.
- Use seat covers to avoid damaging any surface.
- Glass adhesive can be efficiently cut with a commercially available auto glass tool. See the tool manufacturer's instructions for details.
- Do not damage the lower rear window defogger grid lines and terminals.
- Use glass adhesive set P/N 08C73-X0230N

1. Remove these items:

- Hatch lower trim panel Interior Trim Removal/Installation - Hatch Areas
- Hatch spoiler Service and Repair
- Rear license trim Service and Repair

2. Remove the lower rubber dam (A) from the edge of the lower rear window (B). If necessary, cut off the rubber dam with a utility knife.






3. Disconnect the lower rear window defogger connectors (A).





4. Apply protective tape along the inside and outside edges of the hatch. Make holes with an awl through the upper and lower adhesive from inside the vehicle at 300 mm (11.8 in) from both sides of the lower rear window.

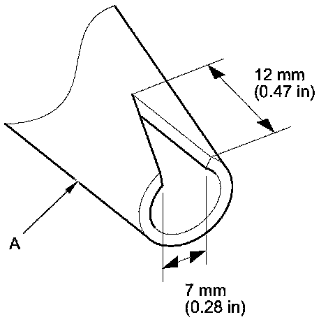
5. Pass the piano wire (A) through the lower side of the adhesive (B)

1. Push the piano wire through the hole from outside the vehicle.

2. Push the piano wire between the clip bases (C) and the adhesive in three places.

3. Push the piano wire out through the hole from inside the vehicle, and wrap each end around a piece of wood.





6. Hold a piece of wood, and with a helper on the other side, pull back the piano wire (A) to carefully cut through the adhesive.






7. Pass the piano wire (A) through the upper side of the adhesive (B).

1. Push the piano wire through the hole from outside the vehicle.

2. Push the piano wire between the fastener (C) and the adhesive (D) in three places.

3. Push the piano wire out through the hole from inside the vehicle, and wrap each end around a piece of wood.





8. Hold a piece of wood, and with a helper on the other side, pull back the piano wire (A) to carefully cut through the entire window adhesive.






9. Detach the clips that hold the lower rear window (A), then carefully remove the lower rear window.





10. Remove the seal from the upper edge of the window.

11. Scrape smooth the old adhesive with a putty knife until there is a thickness of about 2 mm (0.08 in) on the bonding surface around the entire lower rear window opening flange.

NOTE: Do not scrape down to the painted surface of the body; damaged paint will interfere with proper bonding.

12. Clean the body bonding surface with a shop towel dampened in isopropyl alcohol. After cleaning, keep oil, grease, and water from getting on the surface.

13. If the clips (A) and the fastener (B) are damaged or stress-whitened, replace them with new ones.





14. If the old window will be reinstalled, scrape off all of the old adhesive, the clips, and the rubber dams from the lower rear window with a putty knife. Clean the bonding surfaces on the inside face and the edge of the lower rear window with isopropyl alcohol. Make sure the bonding surface is kept free of water, oil, and grease.

15. Remove the adhesive backing, and attach the rubber dam (A), the fastener (B), and the clips (C) to the inside face of the window (D) as shown:

- Make sure the rubber dam, the fastener, and the clips line up with the alignment marks (E).
- Be careful not to touch the lower rear window where adhesive will be applied.





16. Attach the lower rubber dam (A) with adhesive tape to the upper edge of the lower rear window (B). Be careful not to touch the lower rear window where adhesive will be applied.






17. With a sponge, apply a light coat of glass primer around the edge of to the lower rear window (A) as shown, then lightly wipe it off with gauze or cheesecloth:

- Apply glass primer to the bottom (B) of the lower rear window using the printed dots (C) on the lower rear window as a guide.
- Never touch the primed surfaces with your hands. If you do, the adhesive may not bond to the lower rear window properly, causing a leak after the lower rear window is installed.
- Keep water, dust, and abrasive materials away from the primed surface.





18. With a sponge, carefully apply a light coat of body primer to any exposed paint or metal around the flange where new adhesive will be applied. Let the body primer dry for at least 10 minutes.

- Do not apply body primer to any remaining original adhesive on the flange.
- Be careful not to mix up the body primer applicators and the glass primer applicators.
- Never touch the primed surfaces with your hands.





19. Cut a "V" in the end of the nozzle (A) on the adhesive cartridge as shown.






20. Pack adhesive into the cartridge without air pockets to ensure continuous delivery. Put the cartridge in a caulking gun, and run a continuous bead of adhesive (A) to the lower rear window (B) along the edge of the rubber dams (C) as shown:

- With the printed dots (D) on the lower rear window as a guide, apply the adhesive to both side portions of the lower rear window.
- Apply the adhesive within 30 minutes after applying the glass primer. Make a slightly thicker bead at each corner.





21. Hold the lower rear window with suction cups over the opening, align the clip, and set it down on the adhesive. Lightly push on the lower rear window until its clips snap into place securely and its edges are fully seated on the adhesive all the way around.

NOTE: Do not open or close any of the doors for about an hour until the adhesive is dry.

22. Remove the excess adhesive with a putty knife or a shop towel dampened in isopropyl alcohol.

23. Wait at least an hour for the adhesive to dry, then spray water over the lower rear window and check for leaks. Mark the leaking areas, let the lower rear window dry, then seal with sealant. Let the vehicle stand for at least 4 hours after the lower rear window installation. If the vehicle has to be used within the first 4 hours, it must be driven slowly.

24. Reinstall all remaining removed parts.

NOTE: Advise the customer not to do the following things for 2 to 3 days:

- Slam the doors with all the windows rolled up.
- Twist the body excessively (such as when going in and out of driveways at an angle or driving over rough, uneven roads).