Operation CHARM: Car repair manuals for everyone.
Manuals through 2025 now available!

Our trusted friends have launched a new website named LEMON, which has newer manuals. It also contains all the CHARM manuals.

LEMON is the spiritual successor to CHARM, I recommend you try it!

Link: lemon-manuals.la or lemon-manuals.org.ua

(Some people have issue connecting. LEMON is investigating. For now, use Firefox or change your DNS server)

Or, hide this message: temporarily or permanently

Seat Temperature Element: Testing and Inspection




Seat Heater Test

Driver's Seat ('07 model)

1. Remove the driver's seat Front Seat Removal/Installation.

2. Disconnect the 4P connector (A) and 2P connector (B) from the seat heater.





3. Check for continuity between terminals B1 and B2 of the seat-back heater 2P connector. There should be continuity.

4. Check for continuity between terminals A2 and B1, the terminals A3 and A4, and the terminals A3 and B2. There should be continuity.

5. If the continuity check is not as specified, replace the appropriate seat heater.

Driver's Seat ('08-10 models)

1. Remove the driver's seat Front Seat Removal/Installation.

2. Disconnect the 3P connector (A) and 2P connector (B) from the seat heater.





3. Check for continuity between terminals B1 and B2 of the seat-back heater 2P connector. There should be continuity.

4. Check for continuity between terminals A2 and A1, terminals A3 and A1 of the 3P connector. There should be continuity.

5. If the continuity check is not as specified, replace the appropriate seat heater.

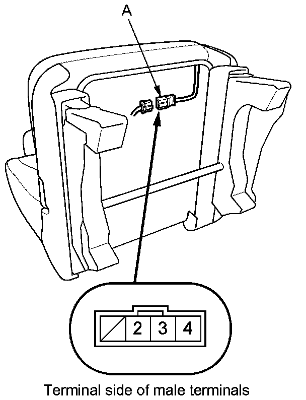
Front Passenger's Seat ('07 model)

1. Remove the passenger's seat Front Seat Removal/Installation.

2. Disconnect the 4P connector (A) from the seat heater.





3. Check for continuity between terminals No. 2 and No. 4, and terminals No. 3 and No. 4 of the 4P connector. There should be continuity.

4. If the continuity is not as specified, replace the seat heater.

Front Passenger's Seat ('08-10 models)

1. Remove the passenger's seat Front Seat Removal/Installation.

2. Disconnect the 3P connector (A) from the seat heater.





3. Check for continuity between terminals No. 1 and No. 2, and terminals No. 1 and No. 3 of the 3P connector. There should be continuity.

4. If the continuity is not as specified, replace the seat heater.