Operation CHARM: Car repair manuals for everyone.
Manuals through 2025 now available!

Our trusted friends have launched a new website named LEMON, which has newer manuals. It also contains all the CHARM manuals.

LEMON is the spiritual successor to CHARM, I recommend you try it!

Link: lemon-manuals.la or lemon-manuals.org.ua

(Some people have issue connecting. LEMON is investigating. For now, use Firefox or change your DNS server)

Or, hide this message: temporarily or permanently

Front Seat Disassembly/Reassembly




Front Seat Disassembly/Reassembly

Special Tools Required

- KTC Trim Tool Set SOJATP2014
*

'07 model/Power seat ('08-10 models)

SRS components are located in this area. Review the SRS component locations Locations and the precautions and procedures Service and Repair before doing repairs or service.

Do the OPDS/ODS unit initialization after front passenger's seat replacement.

- '07 model: OPDS unit OPDS Unit Initialization
- '08-10 models: ODS unit Programming and Relearning

NOTE:

- Use the appropriate tool from the KTC trim tool set to avoid damage when removing components.
- Take care not to tear or damage the seat covers.
- Put on gloves to protect your hands.

1. Remove the front seat Front Seat Removal/Installation.

2. Power seat: Remove the clips, and release the hooks (A), then remove the inner cover (B) from both sides.

Driver's seat (8-way power seat)





Passenger's seat (4-way power seat)





3. Passenger's seat: Remove the center table (A).

1. Detach the clips (B), and release the hooks (C), then remove the inner riser cover (D).

2. Remove the nuts (E), then remove the table.

3. Detach the clips (F), then remove the center table inner cover (G) from the table.





4. Manual seat: Remove the center cover (A).

1. Remove the clips (B), and detach the clip (C).

2. Pull up the cover, then release the hooks (D, E).

Driver's seat (manual height adjustable seat) ('07 model)





Passenger's seat (manual seat) ('07 model)





5. Power seat: Remove the center cover (A).

1. Driver's seat (8-way power seat): Remove the screw.

2. Pull up the cover, then release the hooks (B, C, D, E).

Driver's seat (8-way power seat)





Passenger's seat (4-way power seat)





6. Power seat: Remove the screw, and release the hooks (A), then remove the front cover (B).

Driver's seat (8-way power seat)





Passenger's seat (4-way power seat)





7. Manual seat: Remove the recline cover (A).

1. Driver's seat: Gently pull out along the bottom of the cap (B) to release the hooks (C), then remove the cap.

2. Driver's seat: Remove the bolts (D), then remove the height handle (E) and the screw (F).

3. Remove the recline knob (G) and the clips (H).

4. Detach the clip (I), and release the hooks (J, K), then remove the cover.

Driver's seat (manual height adjustable seat) ('07 model)





Passenger's seat (manual seat) ('07 model)





8. Power seat: Remove the recline cover (A).

1. Remove the screw(s).

2. Pull up the cover, then release the hooks (B, C).

3. Disconnect the power seat adjustment switch connector (D).

4. Driver's seat: Detach the harness clips (E) from the cover.

Driver's seat (8-way power seat)





Passenger's seat (4-way power seat)





9. Remove the front outer seat track cover (A) and the front inner seat track cover (B) by gently pulling out the cover to release the clip(s), then slide the cover off from the seat rail.

Passenger's seat ('07 model)





Passenger's seat (4-way power seat) ('08-10 models)










10. Driver's seat (8-way power seat): Remove the recline lower cover (A) and the center lower cover (B).






11. Passenger's seat (manual seat) ('07 model): Detach the rod fastener (A), then remove the recline rod (B).






12. If necessary, detach the clips, and release the hooks (A), then remove the riser cover (B). The outer riser cover is shown; the inner riser cover is similar.






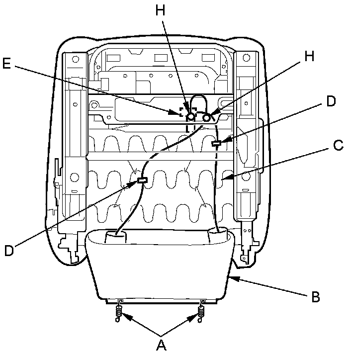
13. From under the seat cushion, release the hook springs (A) and the seat cushion cover (B) from the seat cushion frame spring (C), then pullback the cover, and release the wire tie(s) (D). Disconnect the OPDS/ODS unit connector (E) on the passenger's seat, the recline motor subharness connector (F) on the power seat, and if equipped, the seat-back heater connector (G) on the driver's 8-way power seat. Detach the harness clip(s) (H).

Driver's seat (manual height adjustable seat) ('07 model)





Passenger's seat (manual seat) ('07 model)





Driver's seat (8-way power seat) ('07 model)





Driver's seat (8-way power seat) ('08-10 models)





Passenger's seat (4-way power seat)





14. Remove the seat-back (A).

1. Remove the bolts.

2. Lift the seat-back, then pull out the seat wire harnesses (B), through the holes in the seat cushion cover.





15. Assemble the seat-back and the seat cushion in the reverse order of disassembly, and note these items:

- If the clips are damaged or stress-whitened, replace them with new ones.
- Push the clips and the hooks into place securely.
- Apply multipurpose grease to the moving parts of the seat track.
- To prevent wrinkles in the seat cushion cover, stretch the material evenly over the pad.