Operation CHARM: Car repair manuals for everyone.
Manuals through 2025 now available!

Our trusted friends have launched a new website named LEMON, which has newer manuals. It also contains all the CHARM manuals.

LEMON is the spiritual successor to CHARM, I recommend you try it!

Link: lemon-manuals.la or lemon-manuals.org.ua

(Some people have issue connecting. LEMON is investigating. For now, use Firefox or change your DNS server)

Or, hide this message: temporarily or permanently

Intake Manifold Removal/Installation




Intake Manifold Removal and Installation

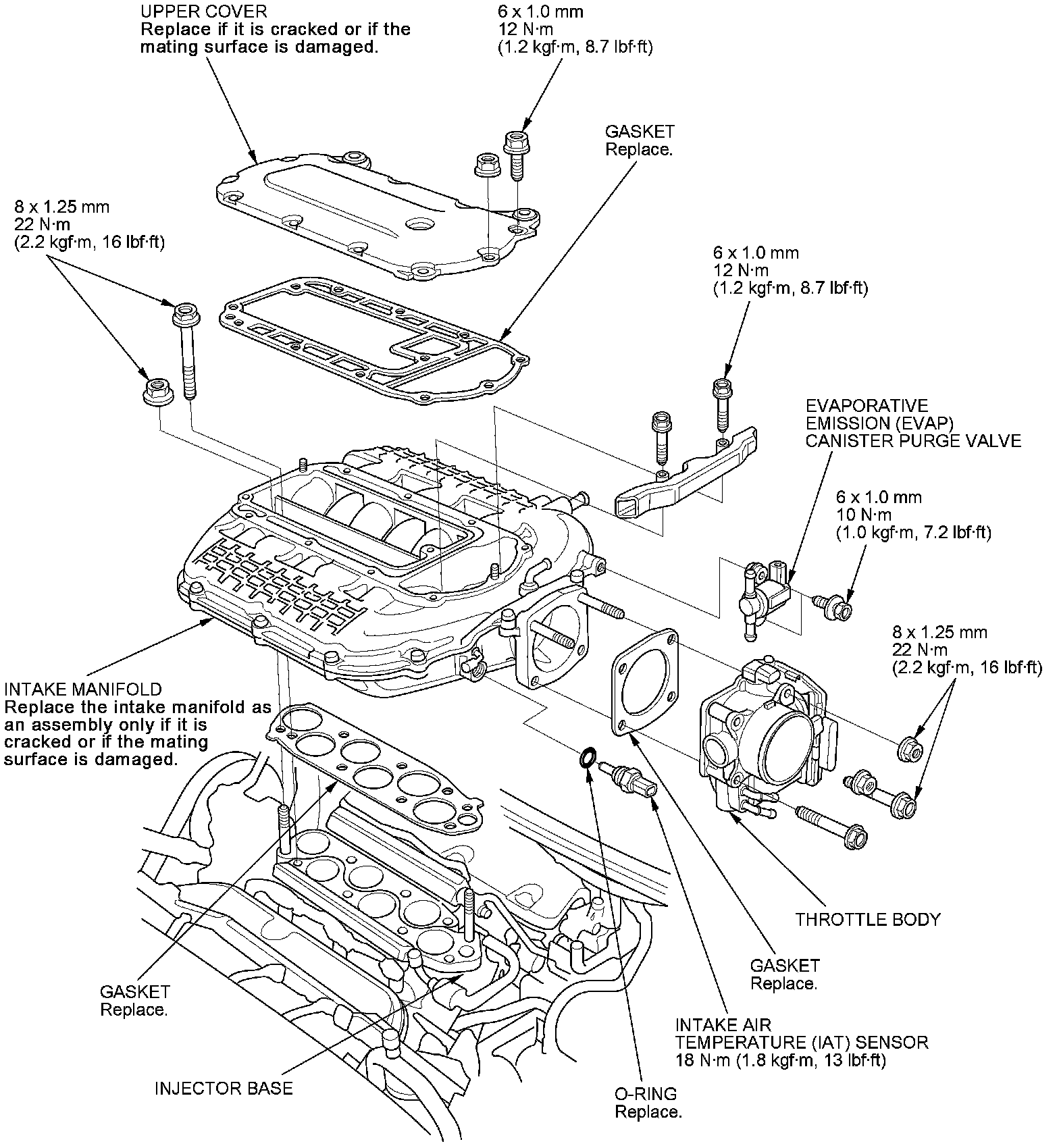
Exploded View

J35A6 engine





'07 model J35A7 engine





Exploded View

'08-10 models J35A7 engine





Removal

1. Remove the engine cover Engine Removal.

2. Disconnect the breather pipe (A), then remove the intake air duct (B).






3. Disconnect the positive crankcase ventilation (PCV) hose (A) and the brake booster vacuum hose (B).






4. Disconnect the evaporative emission (EVAP) canister purge hose (A) and the water bypass hoses (B), then plug the water bypass hoses.

J35A6, '07 model J35A7 engines





'08-10 models J35A7 engine





5. Disconnect the following engine wire harness connectors and remove the wire harness clamps from the intake manifold:

- Intake air temperature (IAT) sensor connector (J35A6, '07 model J35A7 engines)
- Throttle actuator connector
- Manifold absolute pressure (MAP) sensor connector
- Evaporative emission (EVAP) canister purge valve connector
- Intake manifold tuning (IMT) actuator connector ('07 model J35A7 engine)

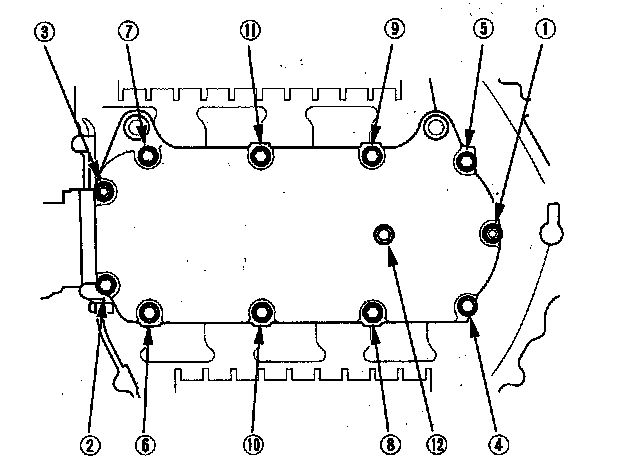
6. Remove the upper cover mounting bolts and nuts sequentially in three steps.






7. Remove the intake manifold mounting bolts and nuts sequentially in three steps.





8. Remove the intake manifold.

NOTE: Do not screw and unscrew the 6 mm bolts securing the upper intake manifold and the lower intake manifold.

Installation

1. Install the intake manifold. Tighten the bolts and nuts sequentially in three steps. Always use a new intake manifold gasket.










2. Install the upper cover. Tighten the bolts and nuts sequentially in three steps. Always use a new gasket.










3. Connect the following engine wire harness connectors and install the wire harness clamps to the intake manifold:

- Intake air temperature (IAT) sensor connector (J35A6, '07 model J35A7 engines)
- Throttle actuator connector
- Manifold absolute pressure (MAP) sensor connector
- Evaporative emission (EVAP) canister purge valve connector
- Intake manifold tuning (IMT) actuator connector ('07 model J35A7 engine)

4. Connect the EVAP canister purge hose (A) and the water bypass hoses (B).

J35A6, '07 model J35A7 engines





'08-10 models J35A7 engine





5. Connect the PCV hose (A) and the brake booster vacuum hose (B).






6. Install the intake air duct (A), then connect the breather pipe (B).





7. Clean up any spilled engine coolant.

8. After installation, check that all tubes, hoses, and connectors are installed correctly.

9. Install the engine cover Engine Installation.

10. Refill the radiator with engine coolant, and bleed the air from the cooling system with the heater valve open Service and Repair.