Operation CHARM: Car repair manuals for everyone.
Manuals through 2025 now available!

Our trusted friends have launched a new website named LEMON, which has newer manuals. It also contains all the CHARM manuals.

LEMON is the spiritual successor to CHARM, I recommend you try it!

Link: lemon-manuals.la or lemon-manuals.org.ua

(Some people have issue connecting. LEMON is investigating. For now, use Firefox or change your DNS server)

Or, hide this message: temporarily or permanently

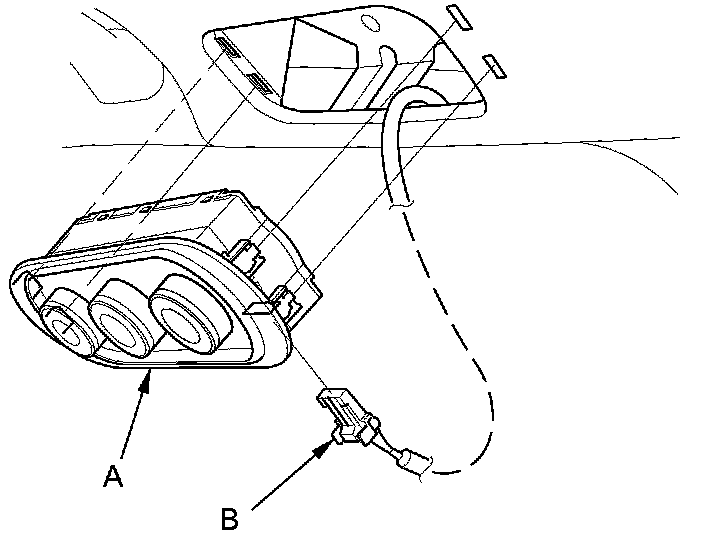
Rear Control Panel Removal/Installation




Rear Control Panel Removal/Installation

1. Remove the rear control panel (A) from the roof.

With rear climate control





Without rear climate control





2. Disconnect the connector (B) from the rear control panel.

3. Install the rear control panel in the reverse order of removal. After installation, operate the various functions to see whether works properly.

4. Run the self-diagnostic function to confirm that there are no problems in the system How to Troubleshoot the Climate Control System.