Operation CHARM: Car repair manuals for everyone.
Manuals through 2025 now available!

Our trusted friends have launched a new website named LEMON, which has newer manuals. It also contains all the CHARM manuals.

LEMON is the spiritual successor to CHARM, I recommend you try it!

Link: lemon-manuals.la or lemon-manuals.org.ua

(Some people have issue connecting. LEMON is investigating. For now, use Firefox or change your DNS server)

Or, hide this message: temporarily or permanently

Evaporator Core: Service and Repair




Front Evaporator Core Replacement

1. Recover the refrigerant with a recovery/recycling/charging station A/C Refrigerant Recovery.

2. Remove the engine cover Engine Removal.

3. Remove the bolts and nut, then disconnect the suction line (A) and the receiver line (B) from the front evaporator core.





4. Remove the blower unit Blower Unit Removal/Installation (Without Climate Control).

5. Remove the self-tapping screws, the expansion valve cover (A), and seal (B).






6. Remove the bolts, inlet and outlet pipes (A), and expansion valve (B).






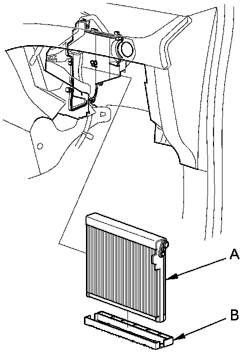
7. Carefully pull out the front evaporator core (A) and the plate (B).





8. Install the core in the reverse order of removal, and note these items:

- If you're installing a new front evaporator core, add refrigerant oil (DENSO ND-OIL 8) A/C Refrigerant Oil Replacement (Without Climate Control).
- Replace the O-rings with new ones at each fitting, and apply a thin coat of refrigerant oil before installing them. Be sure to use the correct O-rings for HFC-134a (R-134a) to avoid leakage.
- Immediately after using the oil, reinstall the cap on the container, and seal it to avoid moisture absorption.
- Do not spill the refrigerant oil on the vehicle; it may damage the paint; if the refrigerant oil contacts the paint, wash it off immediately.
- Make sure that there is no air leakage.
- Charge the system A/C System Charging.