Operation CHARM: Car repair manuals for everyone.
Manuals through 2025 now available!

Our trusted friends have launched a new website named LEMON, which has newer manuals. It also contains all the CHARM manuals.

LEMON is the spiritual successor to CHARM, I recommend you try it!

Link: lemon-manuals.la or lemon-manuals.org.ua

(Some people have issue connecting. LEMON is investigating. For now, use Firefox or change your DNS server)

Or, hide this message: temporarily or permanently

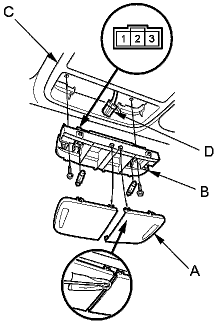
Front Individual Map Light Test/Replacement (Without Moonroof)




Front Individual Map Light Test/Replacement

VAN, DX, and LX models

1. Carefully pry the lens (A) off with a small screwdriver.









2. Remove the screws, then remove the map light (B) from the roof console (C).

3. Disconnect the 3P connector (D) from the map light.

4. Check for continuity between the terminals in each switch position according to the table.





5. If the continuity is not as specified, check the bulb(s). If the bulb(s) are OK, replace the light.