Operation CHARM: Car repair manuals for everyone.
Manuals through 2025 now available!

Our trusted friends have launched a new website named LEMON, which has newer manuals. It also contains all the CHARM manuals.

LEMON is the spiritual successor to CHARM, I recommend you try it!

Link: lemon-manuals.la or lemon-manuals.org.ua

(Some people have issue connecting. LEMON is investigating. For now, use Firefox or change your DNS server)

Or, hide this message: temporarily or permanently

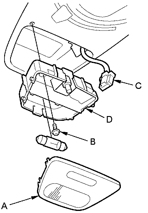
Rear Individual Map Light Test/Replacement




Rear Individual Map Light Test/Replacement

1. Carefully pry off the lens (A) with a small screwdriver.









2. Remove the mounting screw (B).

3. Disconnect the 3P connector (C) from the housing (D).

4. Check for continuity between the terminals.

- There should be continuity between terminals No. 2 and No. 3 with the switch ON.
- There should be continuity between terminals No. 1 and No. 2 with the switch OFF.

5. If the continuity is not as specified, check the bulb. If the bulb are OK, replace the light.