Operation CHARM: Car repair manuals for everyone.
Manuals through 2025 now available!

Our trusted friends have launched a new website named LEMON, which has newer manuals. It also contains all the CHARM manuals.

LEMON is the spiritual successor to CHARM, I recommend you try it!

Link: lemon-manuals.la or lemon-manuals.org.ua

(Some people have issue connecting. LEMON is investigating. For now, use Firefox or change your DNS server)

Or, hide this message: temporarily or permanently

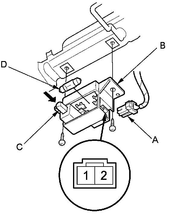
Glove Box Light Test/Replacement




Glove Box Light Test/Replacement

1. Remove the glove box Lower Glove Box Removal/Installation.

2. Disconnect the 2P connector (A) from the glove box light (B).









3. Check for continuity between terminals No. 1 and No. 2.

- With the button (C) released, there should be continuity.
- With the button (C) pressed, there should be no continuity.

4. If the continuity is not as specified, check the bulb (D). If the bulb is OK, replace the light.