Operation CHARM: Car repair manuals for everyone.
Manuals through 2025 now available!

Our trusted friends have launched a new website named LEMON, which has newer manuals. It also contains all the CHARM manuals.

LEMON is the spiritual successor to CHARM, I recommend you try it!

Link: lemon-manuals.la or lemon-manuals.org.ua

(Some people have issue connecting. LEMON is investigating. For now, use Firefox or change your DNS server)

Or, hide this message: temporarily or permanently

Quarter Window Glass: Service and Repair




Quarter Glass Replacement

NOTE:

- Put on gloves to protect your hands.
- Wear eye protection while cutting the glass with piano wire.
- Use seat covers to avoid damaging any surfaces.
- Do not damage the antenna grid lines or terminals.
- Glass adhesive can be efficiently cut with a commercially available auto glass tool. See the tool manufacture's instructions for details.

1. Remove these items:

- - D-pillar trim Interior Trim Removal/Installation - Pillar Areas
- Rear side trim panel Interior Trim Removal/Installation - Rear Side Area

2. Remove the front seal (A) from the front edge of the quarter glass (B). If necessary, cut the rubber dam with a utility knife.






3. Right quarter glass: Disconnect the glass antenna connectors (A).






4. From inside the vehicle, cut through the quarter glass adhesive (A) with a utility knife (B) on the upper, lower and rear edges.

- If the quarter glass (C) is to be reinstalled, take care not to damage the windshield molding (D).
- If the molding is damaged, replace the quarter glass, the molding, and the clips (E) as an assembly.
- If any of the clips are broken, the quarter glass can be reinstalled using butyl tape (refer to step 12).
- Apply protective tape along the edges of the entire quarter glass opening flange.





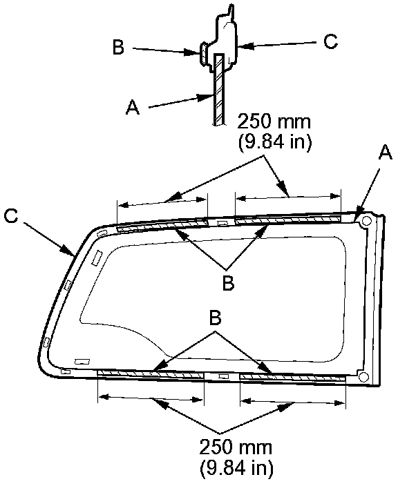
5. Apply protective tape to along the inside and outside edges of the body. Push a piece of piano wire through the lower cut area in the adhesive, and wrap each end around a piece of wood.

6. With a helper on the outside, pull the piano wire (A) back and forth in a sawing motion. Hold the piano wire as close to the quarter glass (B) as possible to prevent damage to the body, and carefully cut through the adhesive (C) on the front side of the quarter glass.

- Take care not to drop the quarter glass.
- If the quarter glass is to be reinstalled, take care not to damage the windshield molding (D).
- If the molding is damaged, replace the quarter glass, the molding, and the clips (E) as an assembly.
- If any of the clips are broken, the quarter glass can be reinstalled using butyl tape (refer to step 12).





Cutting positions





7. Carefully remove the quarter glass.

8. Scrape smooth the old adhesive with a knife until there is a thickness of about 2 mm (0.08 in) on the bonding surface around the entire quarter glass opening flange:

- Do not scrape down to the painted surface of the body; damaged paint will interfere with proper bonding.
- Remove the clip and the fastener from the body.

9. Clean the body bonding surface with a shop towel dampened in isopropyl alcohol. After cleaning, keep oil, grease, and water from getting on the surface.

10. If you are reinstalling the old quarter glass with a putty knife to scrape off all of the old adhesive, the fastener and the rubber dam from the quarter glass. Clean the bonding surfaces on the inside face and the edge of the quarter glass with isopropyl alcohol. Make sure the bonding surface is kept free of water, oil, and grease.

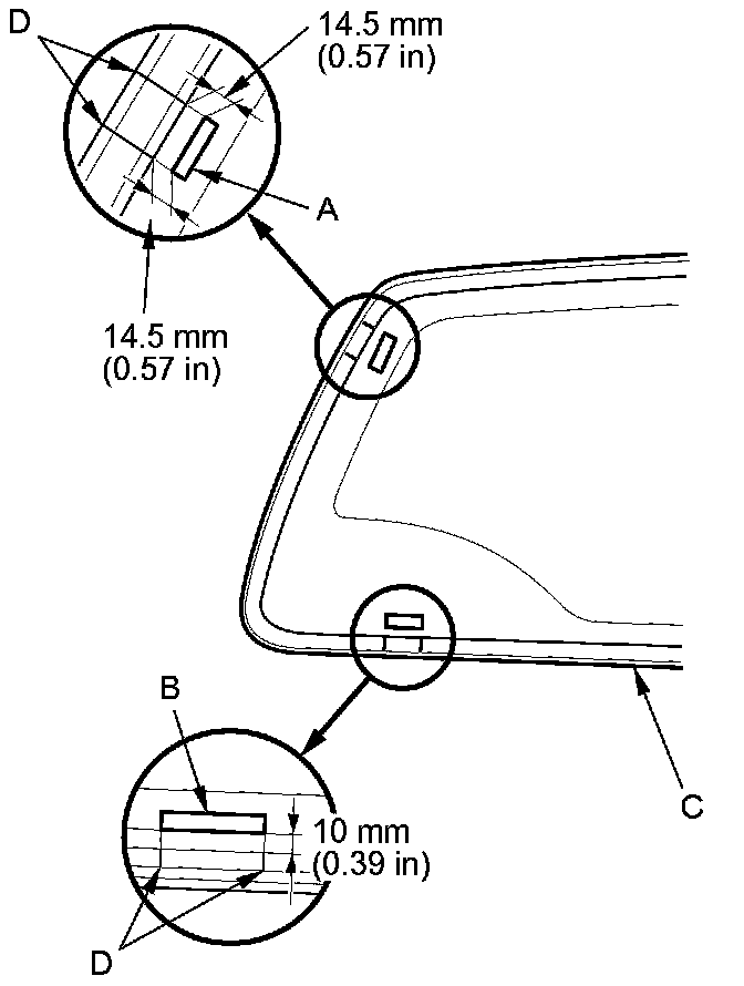
11. Attach the fastener (A) and the clip (B) with adhesive tape to the inside face of the quarter glass (C):

- Be sure the fastener and the clip line up with the alignment marks (D).
- Be careful not to touch the quarter glass where the adhesive will be applied.





12. If you are reinstalling the old quarter glass (A) (and either glass clip is broken off the molding), apply light coat of primer, then apply butyl tape (B) to the windshield molding (C) as shown:

- Let the primer dry at least 10 minutes.
- Be careful not to touch the quarter glass where the adhesive will be applied.
- Do not peel the separator off butyl tape.





13. Attach the fastener with adhesive tape to the body as shown. If you are reinstalling the old quarter glass (and either clip is broken off the molding), seal the body holes with pieces of urethane tape (A).






14. If you are reinstalling the oil quarter glass (A) (and either clip is broken off the molding), install the rear fastener (B) and the rear clip (C) in the opening flange, set the quarter glass upright in the opening, and make alignment marks (D) across the quarter glass and the body with a grease pencil at the four points shown. Be careful not to touch the quarter glass where the adhesive will be applied.





15. Remove the quarter glass. Take care not to break the rear clip during removal.

16. Apply light coat of glass primer to the inside face of the quarter glass (A) along the windshield molding (B), and to the molding as shown, then lightly wipe it off with gauze or cheesecloth:

- Apply the glass primer to the corner areas of the quarter glass using the printed dots (C) on the quarter glass as a guide.
- Do not apply body primer to the quarter glass, and do not mix up the body primer applicators and the glass primer applicators.
- Let the primer dry at least 10 minutes.
- Never touch the primed surfaces with your hands. If you do, the adhesive may not bond to the quarter glass properly, causing a leak after the quarter glass is installed.
- Keep water, dust, and abrasive materials away from the primed surface.





17. Carefully a light coat of body primer to any exposed paint around the flange where the new adhesive will be applied. Let the body primer dry for at least 10 minutes:

- Do not apply body primer to any remaining old adhesive on the flange.
- Be careful not to mix up the body primer applicators and the glass primer applicators.
- Never touch the primed surfaces with your hands.





18. Cut a "V" in the end of the adhesive cartridge nozzle (A) as shown.






19. Put the cartridge in a caulking gun, and run a continuous bead of the adhesive (A) on the quarter glass (B) around the edge of the windshield molding (C) as shown:

- After applying adhesive, peel the separator off butyl tape (if applicable).
- Apply the adhesive within 30 minutes after applying glass primer. Make slightly thicker bead at each corner.





20. Hold the quarter glass with suction cups over the opening, align it with the clips or the alignment marks made in step 14, and set it down on the adhesive. Lightly push on the quarter glass until its edges are fully seated on the adhesive all the way around.

NOTE: Do not open or close any of the doors for about an hour until the adhesive is dry.

21. Remove the excess adhesive with a putty knife or a shop towel dampened in isopropyl alcohol.

22. Wait at least an hour for the adhesive to dry, then spray water over the quarter glass, and check for leaks. Mark the leaking area, let the quarter glass dry, then seal with sealant. Let the vehicle stand for at least 4 hours after quarter glass installation. If the vehicle has to be used within the first 4 hours, it must be driven slowly.

23. Reinstall all remaining removed parts.

NOTE: Advise the customer not to do the following things for 2 to 3 days:

- Slam the doors with all the windows rolled up.
- Twist the body excessively (such as when going in and out of driveways at an angle or driving over rough, uneven roads).