Operation CHARM: Car repair manuals for everyone.
Manuals through 2025 now available!

Our trusted friends have launched a new website named LEMON, which has newer manuals. It also contains all the CHARM manuals.

LEMON is the spiritual successor to CHARM, I recommend you try it!

Link: lemon-manuals.la or lemon-manuals.org.ua

(Some people have issue connecting. LEMON is investigating. For now, use Firefox or change your DNS server)

Or, hide this message: temporarily or permanently

Sliding Door Window Regulator: Service and Repair




Sliding Door Glass and Regulator Replacement

NOTE:

- Put on gloves to protect your hands.
- Take care not to drop the glass inside the door.

1. Remove these items:

- Door sash inner trim Sliding Door Sash Inner Trim Replacement
- Door sash outer trim
- Door panel Sliding Door Panel Removal/Installation

2. Disconnect the connectors, and detach the harness clips Service and Repair.

3. Remove the plastic cover Sliding Door Component Location Index.

4. Carefully lower the glass (A) until you can see the bolts, then remove them. Carefully lower the glass.






5. Pull away the glass run channel (A) as needed, then remove the nut. Remove the bolts securing the center channel (B).






6. Pull up the center channel (A), and remove the center channel bracket (B).





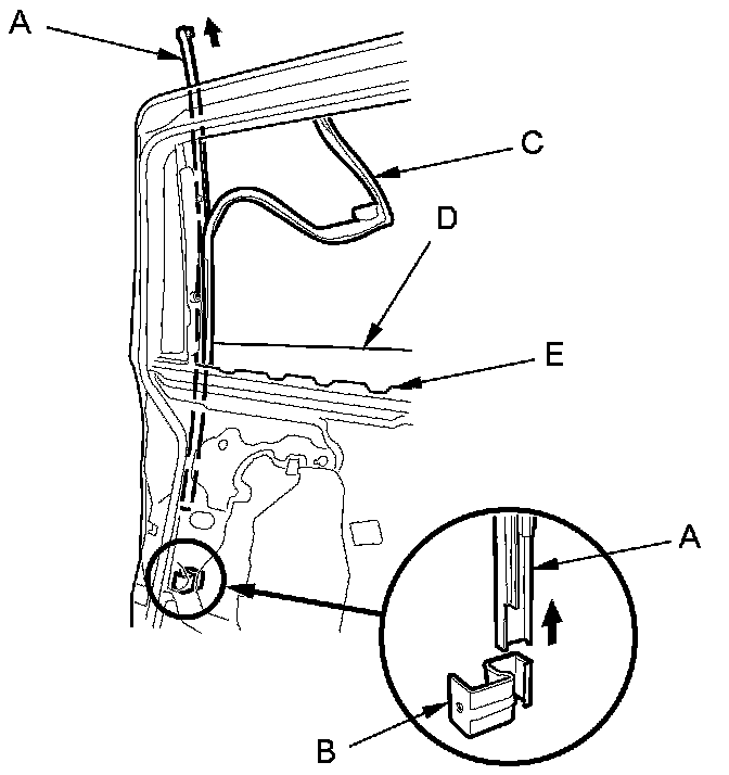
7. Pull the top of the center channel forward, separate it from the glass run channel (C), and pull it up from the door glass (D) and out through the window opening. Take care not to damage the outer weather strip (E).

8. Carefully remove the glass (A) out through the window opening.






9. Remove the regulator (A).

1. Disconnect the front latch cable (B), and detach the harness clips (C).

2. Disconnect the lower roller stop cable (D), the motor connector (E), and the switch connector (F), then detach the connector clip.

3. Slide the regulator link cable and the front latch cables in through the hole in the door skin.

4. Loosen the bolts (G, H), and remove the bolts (I).





10. Apply grease to all the sliding surfaces of the regulator (A) and the switch lever (B) where shown.






11. Install the glass and the regulator in the reverse order of removal, and note these items:

- If the clips are damaged or stress-whitened, replace them with new ones.
- Push the clips into place securely.
- Before installing the regulator, make sure the switch lever is in the position shown.
- Make sure the connectors and the cables are installed properly.
- Roll the glass up and down to make sure it moves freely without binding.
- Make sure that there is no clearance between the glass and the glass run channel when the glass is closed.
- Adjust the position of the glass as necessary Adjustments.
- Make sure the plastic cover on the door is installed properly and sealed around its outside perimeter to seal out water.
- Check for water leaks Adjustments.
- Test-drive, and check for wind noise and rattles.