Operation CHARM: Car repair manuals for everyone.
Manuals through 2025 now available!

Our trusted friends have launched a new website named LEMON, which has newer manuals. It also contains all the CHARM manuals.

LEMON is the spiritual successor to CHARM, I recommend you try it!

Link: lemon-manuals.la or lemon-manuals.org.ua

(Some people have issue connecting. LEMON is investigating. For now, use Firefox or change your DNS server)

Or, hide this message: temporarily or permanently

Rearview Mirror Replacement




Rearview Mirror Replacement

Special Tools Required

- KTC Trim Tool Set SOJATP2014
*Available through the Honda Tool and Equipment Program, 888-424-6857

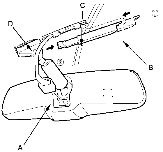
With Automatic Dimming Mirror

1. Disconnect the connector (A).





2. Slide the mirror harness upper cover (B) forward, then remove the mirror harness cover (C) from the mirror base (D).

3. Loosen the screw with a TORX T20 bit, then slide the rearview mirror (A) rearward and off the mount (B).





4. Install the mirror in the reverse order of removal, and note these items:

- Before installing the mirror, remove the TORX screw, and apply medium strength liquid thread lock to it.
- Make sure the connector is plugged in properly.

Without Automatic Dimming Mirror

1. Loosen the screw with a TORX T20 bit.






2. Slide the rearview mirror (A) rearward and off the mount (B).





3. Install the rearview mirror in the reverse order of removal.

NOTE: Before installing the mirror, remove the TORX screw, and apply medium strength liquid thread lock to it.

With Rearview Monitor

NOTE: Use the appropriate tool from the KTC trim tool set to avoid damage when removing components.

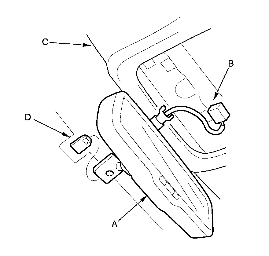
1. Remove the roof console.

2. Disconnect the connector (A), and slide the mirror harness upper cover (B) forward, then remove the TORX screw from the mirror base (C).






3. While holding the rearview mirror (A), pull the mirror harness connector (B) out through the headliner (C), then remove the rearview mirror from the mount (D).





4. Install the mirror in the reverse order of removal, and note these items:

- Before installing the mirror, remove the TORX screw, and apply medium strength liquid thread lock to it.
- Make sure the connector it plugged in properly.