Operation CHARM: Car repair manuals for everyone.
Manuals through 2025 now available!

Our trusted friends have launched a new website named LEMON, which has newer manuals. It also contains all the CHARM manuals.

LEMON is the spiritual successor to CHARM, I recommend you try it!

Link: lemon-manuals.la or lemon-manuals.org.ua

(Some people have issue connecting. LEMON is investigating. For now, use Firefox or change your DNS server)

Or, hide this message: temporarily or permanently

Seat Temperature Element: Service and Repair




Seat Heater Replacement

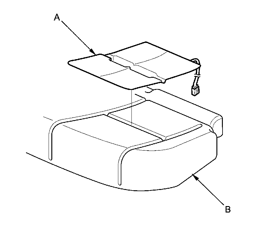
Front Seat Cushion Heater

NOTE: SRS components are located in this area. Review the SRS component locations Locations, and precautions and procedures Service and Repair before doing repairs or servicing.

1. Remove the seat cushion cover Front Seat Cushion Cover Replacement (USA/Canada).

2. Carefully remove the seat cushion heater (A) from the seat cushion pad (B).

NOTE: The seat cushion heater is glued to the seat cushion pad. When removing it, take care not to damage the seat cushion pad.






3. Install the removed parts in the reverse order of removal.

Front Seat-Back Heater

NOTE: SRS components are located in this area. Review the SRS component locations Locations, and precautions and procedures Service and Repair before doing repairs or servicing.

1. Remove the driver's seat-back cover Front Seat-Back Cover Replacement (USA, Canada Models).

2. Carefully remove the seat-back heater (A) from the seat-back pad (B).

NOTE: The seat-back heater is glued to the seat-back pad. When removing it, take care not to damage the seat-back pad.






3. Install the removed parts in the reverse order of removal.

Second Row Seat Cushion Heater (With second row seat heater)

1. Remove the seat cushion cover.

2. Carefully remove the seat cushion heater (A) from the seat cushion pad (B).

NOTE: The seat cushion heater is glued to the seat cushion pad. When removing it, take care not to damage the seat cushion pad.






3. Install the removed parts in the reverse order of removal.

Second Row Seat-Back Heater (With second row seat heater)

1. Remove the seat-back cover.

2. Carefully remove the seat-back heater (A) from the seat-back pad (B).

NOTE: The seat-back heater is glued to the seat-back pad. When removing it, take care not to damage the seat-back pad.






3. Install the removed parts in the reverse order of removal.