Operation CHARM: Car repair manuals for everyone.
Manuals through 2025 now available!

Our trusted friends have launched a new website named LEMON, which has newer manuals. It also contains all the CHARM manuals.

LEMON is the spiritual successor to CHARM, I recommend you try it!

Link: lemon-manuals.la or lemon-manuals.org.ua

(Some people have issue connecting. LEMON is investigating. For now, use Firefox or change your DNS server)

Or, hide this message: temporarily or permanently

Traction Control Switch: Service and Repair




VSA Off Switch Test/Replacement

NOTE: If the low tire pressure indicator turns ON, the VSA cannot be turned OFF. Check the tire pressure first.

1. Turn the ignition switch to LOCK (0).

2. Remove the driver's dashboard side lid Driver's Dashboard Lower Cover Removal/Installation.

3. Remove the driver's dashboard lower cover Driver's Dashboard Lower Cover Removal/Installation.

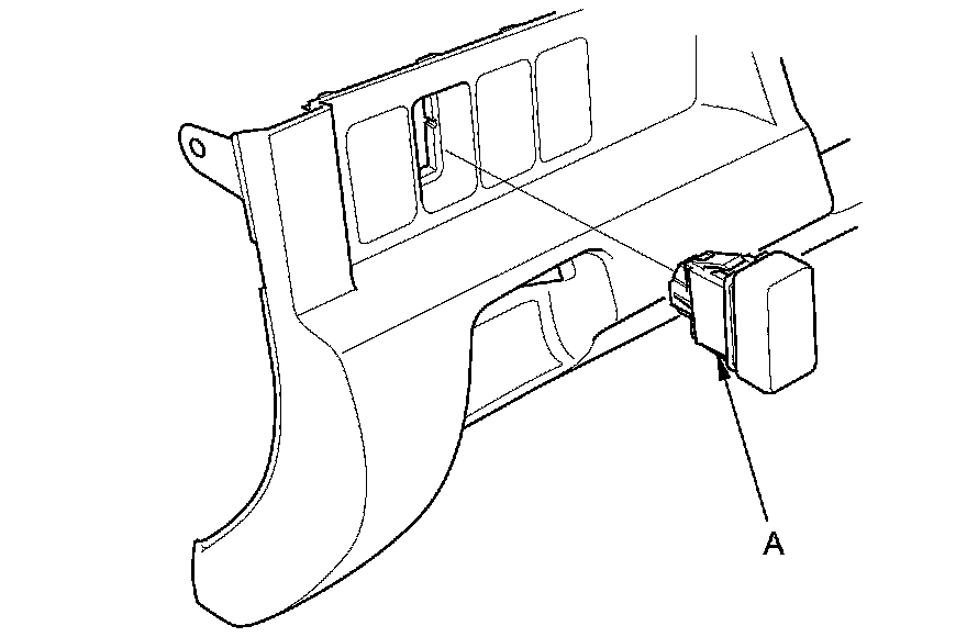
4. Push out the VSA OFF switch (A) from the driver's dashboard lower cover.






5. Check for continuity between VSA OFF switch 5P connector terminals No. 1 and No. 2. There should be continuity when the switch is pressed, and no continuity when the switch is released.






6. Check for continuity between VSA OFF switch 5P connector terminals No. 4 and No. 5. There should be continuity at all times.






7. Install the VSA OFF switch in the reverse order of removal.