Operation CHARM: Car repair manuals for everyone.
Manuals through 2025 now available!

Our trusted friends have launched a new website named LEMON, which has newer manuals. It also contains all the CHARM manuals.

LEMON is the spiritual successor to CHARM, I recommend you try it!

Link: lemon-manuals.la or lemon-manuals.org.ua

(Some people have issue connecting. LEMON is investigating. For now, use Firefox or change your DNS server)

Or, hide this message: temporarily or permanently

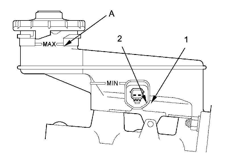
Brake Fluid Level Sensor/Switch: Testing and Inspection




Brake Fluid Level Switch Test

NOTE: If both the ABS/VSA indicator and the brake system indicator come on at the same time, check the VSA system for DTC's first Reading and Clearing Diagnostic Trouble Codes.

1. Disconnect the brake fluid level switch connector.

2. Check for continuity between the terminals (1) and (2) with the float in the down position and in the up position.

- Remove the brake fluid completely from the reservoir. With the float down, there should be continuity.
- Fill the reservoir with brake fluid to the MAX (upper) level (A). With the float up, there should be no continuity.

NOTE: If the parking brake switch and the brake fluid level switch are OK, but the brake system indicator does not function, do the gauge control module self diagnostic function Initial Inspection and Diagnostic Overview.





3. Reconnect the brake fluid level switch connector.