Operation CHARM: Car repair manuals for everyone.
Manuals through 2025 now available!

Our trusted friends have launched a new website named LEMON, which has newer manuals. It also contains all the CHARM manuals.

LEMON is the spiritual successor to CHARM, I recommend you try it!

Link: lemon-manuals.la or lemon-manuals.org.ua

(Some people have issue connecting. LEMON is investigating. For now, use Firefox or change your DNS server)

Or, hide this message: temporarily or permanently

Intake Manifold Removal/Installation




Intake Manifold Removal and Installation

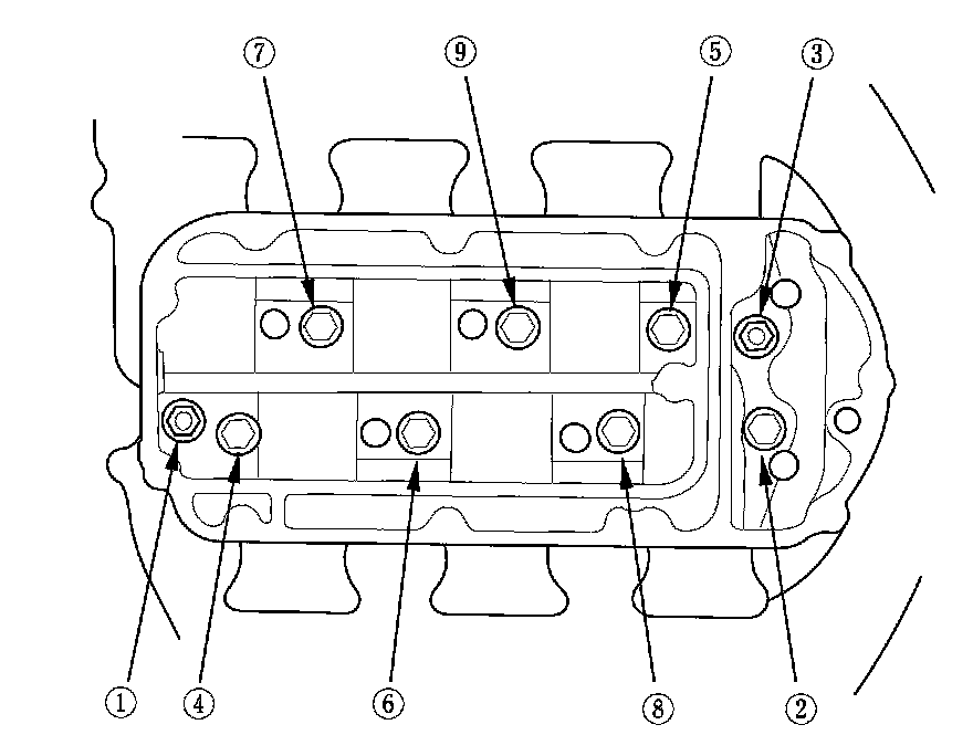
Exploded View





Removal

1. Remove the engine cover.






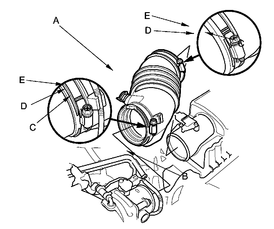
2. Disconnect the breather pipe (A), then remove the intake air duct (B).






3. Disconnect the positive crankcase ventilation (PCV) hose (A), the brake booster vacuum hose (B), and the intake manifold tuning (IMT) actuator connector (C).






4. Disconnect the evaporative emission (EVAP) canister hose (A), the EVAP canister purge valve connector (B), the throttle actuator connector (C), and the manifold absolute pressure (MAP) sensor connector (D).





5. Disconnect and plug the water bypass hoses (E).

6. Remove the upper cover mounting bolts and nuts sequentially in three steps, then remove the upper cover (A).

NOTE: Refer to the Exploded View as needed during this procedure.






7. Remove the intake manifold mounting bolts and nuts sequentially in three steps, then remove the intake manifold.






Installation

1. Install the intake manifold. Tighten the bolts and nuts sequentially in three steps. Always use a new intake manifold gasket.










2. Install the upper cover (A). Tighten the bolts and nuts sequentially in three steps. Always use a new intake manifold gasket.










3. Connect the water bypass hoses (A).





4. Connect the MAP sensor connector (B), the throttle actuator connector (C), the EVAP canister purge valve connector (D), and the EVAP canister hoses (E).

5. Connect the IMT actuator connector (A), the brake booster vacuum hose (B), and the PCV hose (C).






6. Install the intake air duct (A), then connect the breather pipe (B).

NOTE: When tightening the screw of the hose band (C), align the edge of the hose band (D) with the mark (E) painted on the hose band. If you tighten the screw over the mark, replace the hose band.






7. Install the engine cover.





8. Clean up any spilled engine coolant.

9. After installation, check that all tubes, hoses, and connectors are installed correctly.

10. Refill the radiator with engine coolant, and bleed the air from the cooling system.