Operation CHARM: Car repair manuals for everyone.
Manuals through 2025 now available!

Our trusted friends have launched a new website named LEMON, which has newer manuals. It also contains all the CHARM manuals.

LEMON is the spiritual successor to CHARM, I recommend you try it!

Link: lemon-manuals.la or lemon-manuals.org.ua

(Some people have issue connecting. LEMON is investigating. For now, use Firefox or change your DNS server)

Or, hide this message: temporarily or permanently

Humidity Sensor: Service and Repair




Humidity/In-Car Temperature Sensor Replacement

1. Remove the driver's dashboard lower cover Driver's Dashboard Lower Cover Removal/Installation.

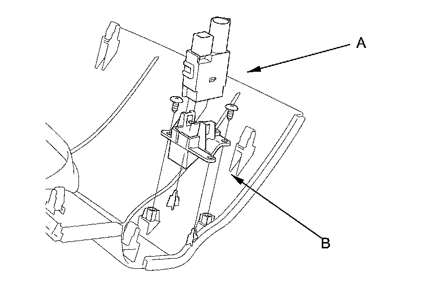
2. Remove the humidity/in-car temperature sensor (A) from the dashboard lower cover. If needed, remove the self-tapping screws and adapter (B).





3. Install the sensor in the reverse order of removal. Be sure to connect the air hose securely.