Operation CHARM: Car repair manuals for everyone.
Manuals through 2025 now available!

Our trusted friends have launched a new website named LEMON, which has newer manuals. It also contains all the CHARM manuals.

LEMON is the spiritual successor to CHARM, I recommend you try it!

Link: lemon-manuals.la or lemon-manuals.org.ua

(Some people have issue connecting. LEMON is investigating. For now, use Firefox or change your DNS server)

Or, hide this message: temporarily or permanently

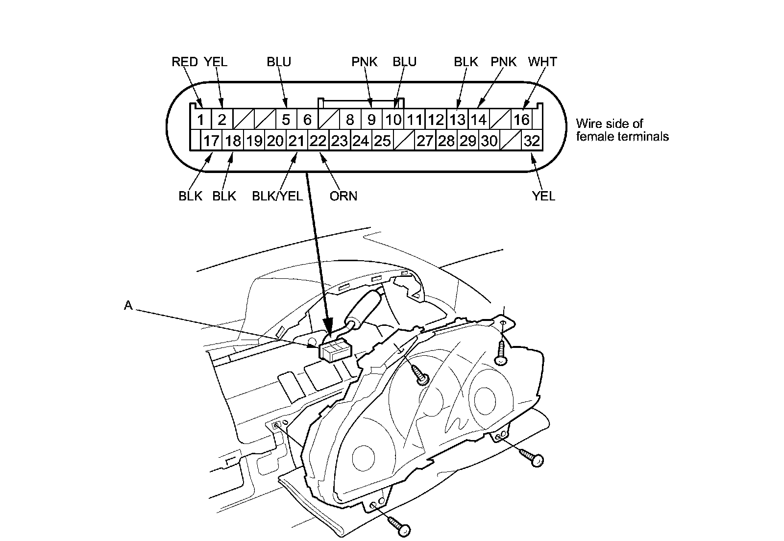
Gauge Control Module Input Test




Gauge Control Module Input Test

NOTE: Before testing, do the gauge control module self-diagnostic function, and make sure the B-CAN communication lines are OK.

1. Turn the ignition switch to LOCK (0).

2. Remove the gauge control module Service and Repair, and disconnect the 32P connector (A) from it.





3. Inspect the connector and socket terminals to be sure they are all making good contact.

- If the terminals are bent, loose, or corroded, repair them as necessary, and recheck the system.
- If the terminals are OK, go to step 4.

4. With the connectors still disconnected, do the following input tests.

- If any test indicates a problem, find and correct the cause, then recheck the system.
- If all the input tests prove OK, go to step 5.





5. Reconnect the 32P connector to the gauge control module, and do the following input tests.

- If any test indicates a problem, find and correct the cause, then recheck the system.
- If the input test proves OK, the gauge control module must be faulty; replace it Service and Repair.