Operation CHARM: Car repair manuals for everyone.
Manuals through 2025 now available!

Our trusted friends have launched a new website named LEMON, which has newer manuals. It also contains all the CHARM manuals.

LEMON is the spiritual successor to CHARM, I recommend you try it!

Link: lemon-manuals.la or lemon-manuals.org.ua

(Some people have issue connecting. LEMON is investigating. For now, use Firefox or change your DNS server)

Or, hide this message: temporarily or permanently

Power and Ground Distribution: Testing and Inspection




Power Relay Test

Special Tools Required

- Relay Puller 07AAC-000A2A1 or 07AAC-000A1A0

Use this chart to identify the type of relay, then do the test listed for it.


















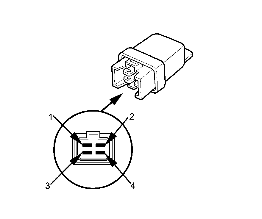
Normally-Open Four-Terminal Type A

Check for continuity between the terminals.

- There should be continuity between terminals No. 1 and No. 2 when battery positive terminal is connected to terminal No. 4, and body ground is connected to terminal No. 3.
- There should be no continuity between terminals No. 1 and No. 2 when power is disconnected.










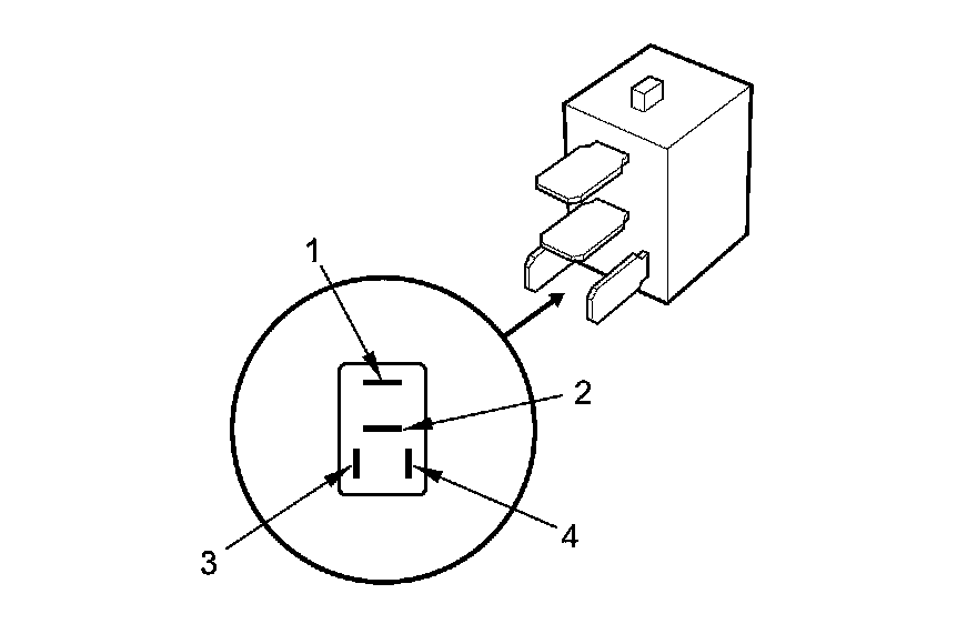
Normally-Open Four-Terminal Type B

Check for continuity between the terminals:

- There should be continuity between terminals No. 1 and No. 3 when battery power is connected to terminal No. 2, and body ground is connected to terminal No. 4.
- There should be no continuity between terminals No. 1 and No. 3 when power is disconnected.





Rear blower motor relay ('09-10 models)





Five-Terminal Type

Check for continuity between the terminals:

- There should be continuity between terminals No. 1 and No. 2 when battery power is connected to terminal No. 5, and body ground is connected to terminal No. 3.
- There should be continuity between terminals No. 1 and No. 4 when power is disconnected.