Operation CHARM: Car repair manuals for everyone.
Manuals through 2025 now available!

Our trusted friends have launched a new website named LEMON, which has newer manuals. It also contains all the CHARM manuals.

LEMON is the spiritual successor to CHARM, I recommend you try it!

Link: lemon-manuals.la or lemon-manuals.org.ua

(Some people have issue connecting. LEMON is investigating. For now, use Firefox or change your DNS server)

Or, hide this message: temporarily or permanently

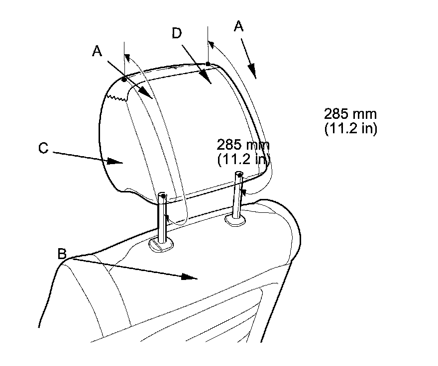
Head Rest: Testing and Inspection




Front Seat Active Head Restraint Inspection

NOTE: If the vehicle has been in a collision, always inspect the active head restraint, even if they appear reusable, by doing the following procedure.

Inspection

1. Manual seat/manual height adjustable seat: Fold the seat-back forward, then recline the seat-back to the first lock position, and adjust the head restraint to the highest position.

2. Power seat: With the recline switch, move the seat-back fully forward, and adjust the head restraint to the highest position.

3. Apply masking tape on the top of the head restraint.

4. Make marks (A) on both sides at 285 mm (11.2 in) upward from the roots of the head restraint frame (B) along the back of the head restraint (C) surface. Make a center of these points as a datum point (D).






5. Push the head restraint (A) forward, and measure its free horizontal movement. The head restraint should move more than 50 mm (2.0 in) without resistance. If it is less than 50 mm (2.0 in), or the head restraint doesn't move smoothly, replace the seat-back frame Front Seat Frame Replacement.