Operation CHARM: Car repair manuals for everyone.
Manuals through 2025 now available!

Our trusted friends have launched a new website named LEMON, which has newer manuals. It also contains all the CHARM manuals.

LEMON is the spiritual successor to CHARM, I recommend you try it!

Link: lemon-manuals.la or lemon-manuals.org.ua

(Some people have issue connecting. LEMON is investigating. For now, use Firefox or change your DNS server)

Or, hide this message: temporarily or permanently

Liftgate Window Glass: Service and Repair




Hatch Glass/Hatch Glass Support Strut Replacement

NOTE:

- Put on gloves to protect your hands.
- Take care not to scratch the tailgate.
- When prying with a flat-tipped screwdriver, wrap it with protective tape to prevent damage.
- Do not damage the rear window defogger grid lines or terminals.
- Use eye protection when prying the support strut clips.

1. Remove the tailgate spoiler trim from the body Service and Repair.

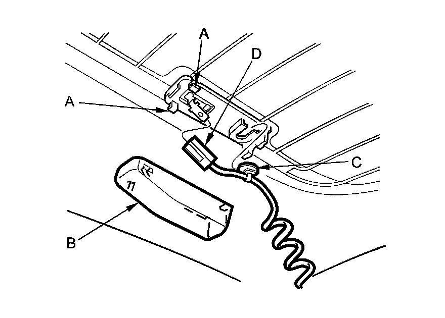
2. Release the tabs (A), then remove the terminal covers (B) from both sides. Detach the clips (C) and disconnect the rear window defogger connectors (D) from both sides.






3. With the help of an assistant, use a flat-tip screwdriver (A) to pry the support strut clips (B) from each end of the support strut (C) at the hatch glass and tailgate, then release the support strut from the pivot bolts (D). Do not remove the clips from the support strut.






4. With an assistant holding the hatch glass, remove the pivot bolt (A).






5. With an assistant holding the hatch glass, remove the bolts. Unlock the hatch glass latch.






6. Remove the hatch glass (A). Take care not to scratch the tailgate.






7. Install the glass and support struts in the reverse order of removal, and note these items:

- Make sure the rear window defogger connectors are plugged in properly.
- Adjust the position of the glass Hatch Glass Adjustment.
- Check that the hatch glass opens properly and locks securely.
- Apply medium strength liquid thread lock to the pivot bolt before installation.

8. Check for water leaks and wind noise.