Operation CHARM: Car repair manuals for everyone.
Manuals through 2025 now available!

Our trusted friends have launched a new website named LEMON, which has newer manuals. It also contains all the CHARM manuals.

LEMON is the spiritual successor to CHARM, I recommend you try it!

Link: lemon-manuals.la or lemon-manuals.org.ua

(Some people have issue connecting. LEMON is investigating. For now, use Firefox or change your DNS server)

Or, hide this message: temporarily or permanently

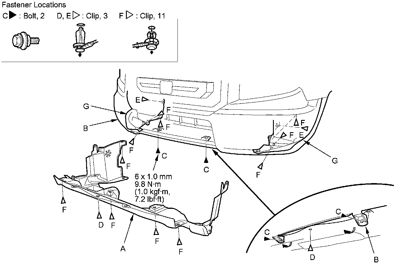
Front Splash Shield Replacement




Front Splash Shield Replacement

NOTE:

- Put on gloves to protect your hands.
- Take care not to scratch the body or the related parts.

1. Remove the splash shield (A).

1. From under the front bumper (B), remove the bolts (C), then turn down the bumper, and remove the clip (D).

2. Remove the clips (E, F) that secure the front inner fender (G) and the splash shield to the body.

3. Pull out the splash shield.





2. Install the splash shield in the reverse order of removal, and note these items:

- If the clips are damaged or stress-whitened, replace them with new ones.
- Push the clips into place securely.