Operation CHARM: Car repair manuals for everyone.
Manuals through 2025 now available!

Our trusted friends have launched a new website named LEMON, which has newer manuals. It also contains all the CHARM manuals.

LEMON is the spiritual successor to CHARM, I recommend you try it!

Link: lemon-manuals.la or lemon-manuals.org.ua

(Some people have issue connecting. LEMON is investigating. For now, use Firefox or change your DNS server)

Or, hide this message: temporarily or permanently

Intake Manifold Removal/Installation




Intake Manifold Removal and Installation

Exploded View





NOTE: Refer to the Exploded View needed during this procedure.

Removal

1. Remove the engine cover.






2. Remove the breather pipe (A), then remove the air intake duct (B).






3. Disconnect the engine wire harness connectors from the intake manifold.

- Throttle body connector
- MAP sensor connector
- EVAP canister purge valve connector
- IMT valve actuator connector

4. Disconnect the PCV hose (A), the brake booster vacuum hose (B), and the EVAP canister purge hose (C).






5. Disconnect the water bypass hoses (A), then plug the water bypass hoses.






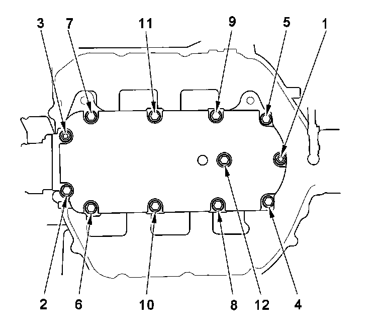
6. Remove the upper cover mounting bolts and nuts sequentially, in three steps, then remove the upper cover.






7. Remove the intake manifold mounting bolts and nuts sequentially in three steps, then remove the intake manifold and the spacer.






Installation

1. Put a new gasket and the spacer on the injector base.

2. Install the intake manifold. Tighten the bolts and nuts sequentially in three steps. Always use a new intake manifold gasket.










3. Install the upper cover. Tighten the bolts and nuts sequentially in three steps. Always use a new gasket.










4. Connect the water bypass hoses (A).






5. Connect the PCV hose (A), the brake booster vacuum hose (B), and the EVAP canister purge hose (C).






6. Connect the engine wire harness connectors to the intake manifold.

- Throttle body connector
- MAP sensor connector
- EVAP canister purge valve connector
- IMT valve actuator connector

7. Install the air intake duct (A), then install the breather pipe (B).






8. Clean up any spilled engine coolant.

9. After installation, check that all tubes, hoses, and connectors are installed correctly.

10. Install the engine cover.






11. Refill the radiator with engine coolant, and bleed the air from the cooling system Service and Repair.