Operation CHARM: Car repair manuals for everyone.
Manuals through 2025 now available!

Our trusted friends have launched a new website named LEMON, which has newer manuals. It also contains all the CHARM manuals.

LEMON is the spiritual successor to CHARM, I recommend you try it!

Link: lemon-manuals.la or lemon-manuals.org.ua

(Some people have issue connecting. LEMON is investigating. For now, use Firefox or change your DNS server)

Or, hide this message: temporarily or permanently

Engine Installation




Engine Installation

Special Tools Required

- 2008 V6 Attachment Arm SIL02C000033
- Front Subframe Adapter EQS02BMDXSB0
- Engine Support Hanger, A and Reds AAR-T1256
- Engine Hanger Balance Bar VSB02C000019
- Engine Hanger Adapter Set VSB02C000024
- Subframe Alignment Pin 070AG-SJAA10S
*Available through the Honda Tool and Equipment Program, 888-424-6857.

1. Install the engine mount brackets and the accessory brackets, then tighten their bolts to the specified torque.






2. Position the engine/transmission under the vehicle. Be sure that they are properly aligned. Carefully lower the vehicle until the engine/transmission are properly positioned in the engine compartment. Make sure the vehicle is not resting on any part of the engine/transmission with a chain hoist support the engine/transmission (A) and carefully raise the engine/transmission into place.

NOTE: Reinstall the mounting bolts/support nuts in the sequence given in the following steps. Failure to follow this sequence may cause excessive noise and vibration, and reduce engine mount life.






3. Remove the service caps (A) for the front damper flange nuts from the cowl cover (B). Position the engine hanger adapter set (VSB02C000024) with the "FRONT" mark facing forward over the damper flange nuts.






4. Install the side engine mount mounting bolts into the upper half of the side engine mount bracket. Tighten the bolts to the specified torque.






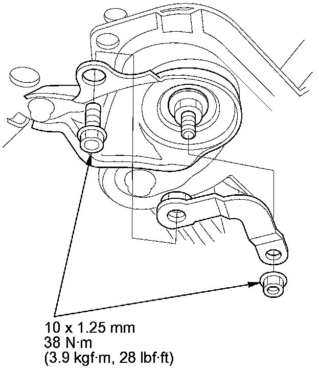
5. Install the engine hanger balance bar (VSB02C000019). Attach the front arm (A) to the front cylinder head with spacer (B) and a 10 x 1.25 mm bolt (C). Remove the rear arm from the balance bar, and install the 2008 V6 attachment arm (SIL02C000033), then attach the 2008V6 attachment arm to the rear cylinder head with an 8 x 1.25 mm bolt (D).





6. Install the engine support hanger (AAR-T1256) onto the vehicle as shown, and attach the hook to the slotted hole in the engine hanger balance bar. Tighten the wing nut (E) by hand, and lift and support the engine/transmission.

NOTE: Be careful when working around the windshield.

7. Using the front subframe adapter (EQS02BMDXSB0) and a jack, raise the front subframe up to the body.





8. Loosely install the new front subframe mounting bolts (four) (A), the 12 x 1.25 mm bolts (six) (B, C), and the stiffeners (D).

9. Loosely tighten the right rear subframe mounting bolt (A); insert the frame positioning guide pin through the positioning slot (B) on the rear stiffener, through the positioning hole (C) on the subframe, and into the positioning hole (D) on the body, then tighten the subframe mounting bolt.






10. Loosely tighten the left rear subframe mounting bolt in the same manner in step 7.

11. Loosely tighten the right and left front subframe mounting bolts.

12. Loosen the right rear mounting bolt, then tighten the bolt to the specified torque with putting the guide pin into the positioning hole.

13. Tighten the left rear mounting bolt to the specified torque with putting the guide pin into the positioning hole.

14. Tighten the right and left front mounting bolts to the specified torque.

15. Check that the positioning holes and slot are aligned using the guide pin.

16. Tighten the rear and front stiffener mounting bolts to the specified torque.

17. Install the bolt retainers on both ends of the subframe.





18. Remove the jack and front subframe adapter.

19. Tighten the transmission lower rear mount nuts (A) and the transmission lower front mount nuts (B).






20. Tighten the rear engine mount mounting bolts.





21. Lower the vehicle on the lift.

22. Tighten the front engine mount bolt (A), then install the front engine mount stop (B).






23. Loosen the mounting bolts for the upper half of the side engine mount bracket, then tighten them to the specified torque.






24. Remove the engine hanger and balance bar.

25. Raise the vehicle on the lift.

26. Install the A/C compressor.






27. Connect the power steering hose (A), then install the power steering hose on the clamp (B).






28. Connect the power steering pressure switch connector.






29. Install the transfer assembly Transfer Assembly Installation.

30. Install the propeller shaft onto the transfer shaft flange Propeller Shaft Installation.

31. Wipe the front driveshaft clean. Install a new set ring on the end of each driveshaft, then install the front driveshafts Front Driveshaft Installation. Make sure each ring "clicks" into place in the differential and intermediate shaft.

32. Connect the suspension lower arms to the knuckles Front Lower Arm Removal/Installation.

33. Connect the stabilizer links Front Stabilizer Link Removal/Installation.

34. Connect the tie-rod end ball joints to the knuckles Service and Repair.

35. Install the exhaust pipe A using new gaskets (B) and new self-locking nuts (C) Service and Repair.






36. Install the front subframe stiffener.






37. Install the front splash shield Front Splash Shield Replacement.

38. Install the front wheels.

39. Lower the vehicle on the lift.

40. Install the radiator Service and Repair.

41. Connect the upper radiator hose (A) and the lower radiator hose (B).






42. Connect the heater hoses (A).






43. Connect the ATF cooler hoses (A) to the transmission, and secure the hoses with the clips Service and Repair.






44. Install the connector bracket (A) to the front cylinder head.






45. Install the harness clamp bracket (A) to the rear cylinder head.






46. Install the power steering pump outlet hose (A) with a new O-ring (B), and connect the power steering pump inlet hose (C).





47. Install the power steering hose clamp (D) to the cylinder head.

48. Install the drive belt Service and Repair.

49. Connect the PCM connectors (A), then install the harness clamps (B).






50. Install the PCM cover.






51. Install the coolant reservoir tank to the bracket.

52. Install the alternator cable (A) to the under-hood fuse/relay box.





53. Connect the harness connectors (B).

54. Align the reference mark (A) on the steering joint and steering gearbox pinion shaft. Connect the steering joint (B) to the steering gearbox pinion shaft (C). Tighten the steering joint bolt.





55. Install the steering joint cover (D).

56. Install the steering wheel Steering Wheel Installation.

57. Install the transfer breather tube box (A), and connect the brake booster vacuum hose (B).





58. Connect the EVAP canister hose (C), then install the EVAP purge joint (D).

59. Connect the fuel feed hose (A) Fuel Line/Quick-Connect Fitting Installation, then install the quick-connect fitting cover (B).






60. Install the shift cable.

61. Install the starter cable (A), the harness clamps (B) and the ground cable (C).






62. Install the battery base (A), then install the harness clamps (B).






63. Install the air intake duct (A), then install the breather pipe (B).






64. Install the engine cover.






65. Install the bulkhead cover Front Bulkhead Cover Replacement.

66. Install the service caps on the cowl cover.

67. Do the battery installation procedure.

68. Inspect for fuel leaks. Turn the ignition switch to ON (II) (do not operate the starter) so the fuel pump runs for about 2 seconds and pressurizes the fuel line. Repeat this operation two or three times, then check for fuel leakage at any point in the fuel line.

69. Refill the engine with the engine oil Service and Repair.

70. Refill the transmission with ATF ATF Replacement.

71. Move the shift lever to each gear, and verify that the A/T gear position indicator follows the transmission range switch.

72. Refill the radiator with engine coolant, and bleed the air from the cooling system Service and Repair.

73. Refill the reservoir with the power steering fluid. Do the power steering system bleeding procedure Service and Repair.

74. Do the PCM reset procedure.

75. Do the CKP pattern clear/CKP pattern learn procedure.

76. Inspect the idle speed Testing and Inspection.

77. Inspect the ignition timing Testing and Inspection.

78. Check the wheel alignment Service and Repair.