Operation CHARM: Car repair manuals for everyone.
Manuals through 2025 now available!

Our trusted friends have launched a new website named LEMON, which has newer manuals. It also contains all the CHARM manuals.

LEMON is the spiritual successor to CHARM, I recommend you try it!

Link: lemon-manuals.la or lemon-manuals.org.ua

(Some people have issue connecting. LEMON is investigating. For now, use Firefox or change your DNS server)

Or, hide this message: temporarily or permanently

Power Relay Test




Power Relay Test

Special Tools Required

- Relay Puller 07AAC-000A2A1 or 07AAC-000A1A0

Use this chart to identify the type of relay, then do the test listed for it.
NOTE: For the turn signal/hazard relay input test Turn Signal/Hazard Relay Input Test.














Normally-Open Four-Terminal Type

Check for continuity between the terminals.

- There should be continuity between terminals No. 1 and No. 2 when power is connected to terminal No. 4 and ground the terminal No. 3.
- There should be no continuity between terminals No. 1 and No. 2 when power is disconnected.

Resistance type





Diode type





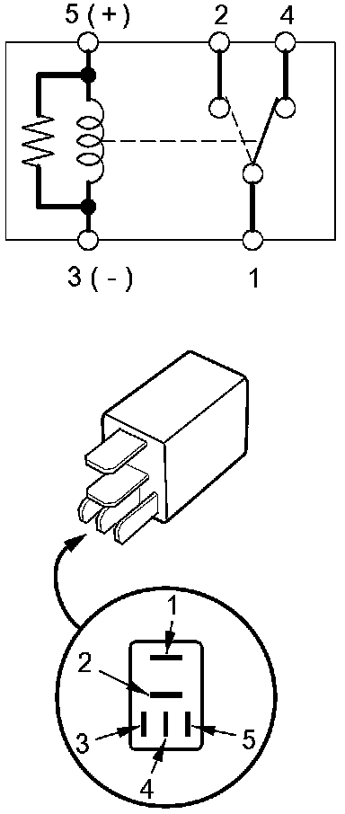
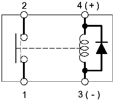
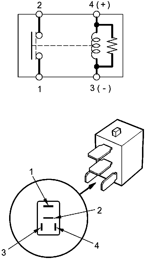
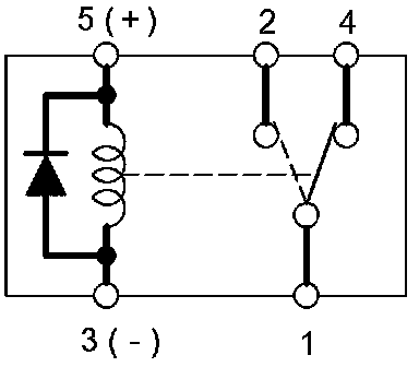
Five-Terminal Type

Check for continuity between the terminals.

- There should be continuity between terminals No. 1 and No. 2 when power is connected to terminal No. 5 and ground the terminal No. 3.
- There should be continuity between terminals No. 1 and No. 4 when power is disconnected.

Resistance type





Diode type