Operation CHARM: Car repair manuals for everyone.
Manuals through 2025 now available!

Our trusted friends have launched a new website named LEMON, which has newer manuals. It also contains all the CHARM manuals.

LEMON is the spiritual successor to CHARM, I recommend you try it!

Link: lemon-manuals.la or lemon-manuals.org.ua

(Some people have issue connecting. LEMON is investigating. For now, use Firefox or change your DNS server)

Or, hide this message: temporarily or permanently

Transmission Position Sensor/Switch: Service and Repair




Transmission Range Switch Replacement

1. Do the battery removal procedure Removal and Replacement, then remove the battery tray.

2. Remove the engine cover and the air intake duct.

3. Remove the air cleaner Service and Repair.

4. Remove the air intake duct A and B Service and Repair.

5. Remove the battery base and the battery base bracket.

6. Remove the spring clip (A) and the control pin (B), then separate the shift cable end (C) from the selector control lever (D).





7. Remove the nuts securing the shift cable bracket (E).

8. Check the bushing (F) in the shift cable end for proper fit and wear. If the bushing is loose or worn, replace the shift cable Service and Repair.

9. Disconnect the transmission range switch connector.

10. Pry the lock tab of the lock washer (A) on the selector control lever (B), and remove the locknut (C), the lock washer, the spring washer (D), and the selector control lever.






11. Pry the lock tabs of the lock washer (E) on the transmission range switch (F), hold the selector control shaft (G) with a 6.0 mm wrench, and loosen the locknut (H).

12. Remove the locknut and lock washer, then remove the transmission range switch (two bolts).

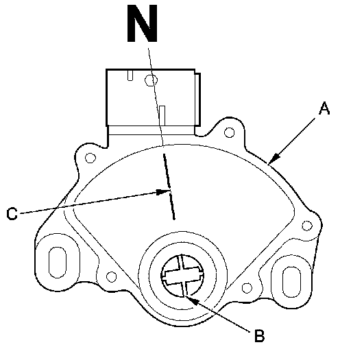
13. Set a new transmission range switch (A) to N. The transmission range switch clicks in N, and the selector control shaft hole (B) aligns with N position line (C).






14. With a 6.0 mm wrench, turn the selector control shaft fully counterclockwise (view from shaft end) to P. Turn the selector control shaft back two click-stopped positions so that the shift position is in N.






15. Install the transmission range switch (A) gently over the selector control shaft (B), and install the bolts loosely.






16. Install a new lock washer (A) over the selector control shaft (B) by aligning the indicator tab (C) of the lock washer with the N positioning line (D) on the transmission range switch (E), and install the locknut (F).






17. Push the locknut (A) against the transmission housing to seat the transmission range switch into the selector control shaft (B), and tighten the locknut to the specified torque while holding the selector control shaft with a 6.0 mm wrench (C), then bend the lock tabs (D) against the locknut.






18. Tighten the bolts (E) to 12 Nm (1.2 kg-m, 8.7 lb-ft) securing the transmission range switch.

19. Install the selector control lever (A), the spring washer (B), a new lock washer (C), and the locknut (D) on the selector control shaft (E).






20. Tighten the locknut to the specified torque, then bend the lock tab of the lock washer against the locknut.

21. Apply molybdenum grease to the hole in the bushing in the shift cable end, then install the shift cable bracket with the nuts.

22. Attach the shift cable end to the selector control lever, then insert the control pin into the selector control lever hole through the shift cable end, and secure the control pin with the spring clip.

23. Check the connectors for rust, dirt, or oil, and clean or repair if necessary, then connect the connector securely.

24. Install the battery base bracket and the battery base.

25. Install the air intake duct A and B Service and Repair.

26. Install the air cleaner Service and Repair.

27. Install the air intake duct and the engine cover.

28. Install the battery tray, then do the battery installation procedure.

29. Turn the ignition switch to ON (II). Move the shift lever through all positions, make sure the transmission range switch synchronization with the A/T gear position indicator.

30. Check that the engine starts in P and N, and will not start in any other shift lever position.

31. Check that the back-up lights come on when the shift lever is in R.

32. Raise the vehicle on a lift, allow all four wheels to rotate freely, then start the engine, and check the shift lever operation.