Operation CHARM: Car repair manuals for everyone.
Manuals through 2025 now available!

Our trusted friends have launched a new website named LEMON, which has newer manuals. It also contains all the CHARM manuals.

LEMON is the spiritual successor to CHARM, I recommend you try it!

Link: lemon-manuals.la or lemon-manuals.org.ua

(Some people have issue connecting. LEMON is investigating. For now, use Firefox or change your DNS server)

Or, hide this message: temporarily or permanently

Driver's And Front Passenger's Accessory Power Socket Test/Replacement




Driver's and Front Passenger's Accessory Power Socket Test/Replacement

1. Remove the center lower console Dashboard Center Lower Cover Removal/Installation.

2. Disconnect the 2P connectors (A) from the accessory power sockets (B).





3. Inspect the connector terminals to be sure they are all making good contact.

- If the terminals are bent, loose, or corroded, repair them as necessary and recheck the system.
- If the terminals look OK, go to step 4.

4. Turn the ignition switch to ACC (I).

5. Measure the voltage between accessory power socket 2P connector terminal No. 1 and body ground. There should be battery voltage.

- If there is battery voltage, go to step 6.
- If there is no battery voltage, check for:
- Blown No. 5 (15 A) fuse in the auxiliary under-hood fuse box.
- Blown No. 32 (7.5 A) fuse in the under-dash fuse/relay box.
- Faulty front accessory power socket relay.
- Poor ground (G401) or an open in the ground wire.
- An open or high resistance in the wire.

6. Measure the voltage between terminals No. 1 and No. 2. There should be battery voltage.

- If there is battery voltage, go to step 7.
- If there is no battery voltage, check for:
- Poor ground (G402) or an open in the ground wire.
- An open or high resistance in the wire.

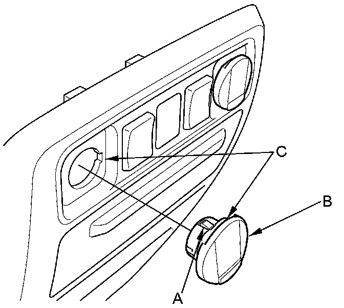
7. Gently press the tabs (A) and remove the socket (B).






8. Gently depress the tabs (A), then remove the housing (B) from the panel. Note the location of the indexing tabs (C).





9. Install the power socket in the reverse order of removal.