Operation CHARM: Car repair manuals for everyone.
Manuals through 2025 now available!

Our trusted friends have launched a new website named LEMON, which has newer manuals. It also contains all the CHARM manuals.

LEMON is the spiritual successor to CHARM, I recommend you try it!

Link: lemon-manuals.la or lemon-manuals.org.ua

(Some people have issue connecting. LEMON is investigating. For now, use Firefox or change your DNS server)

Or, hide this message: temporarily or permanently

Passenger's Power Window Switch Test/Replacement




Passenger's Power Window Switch Test/Replacement

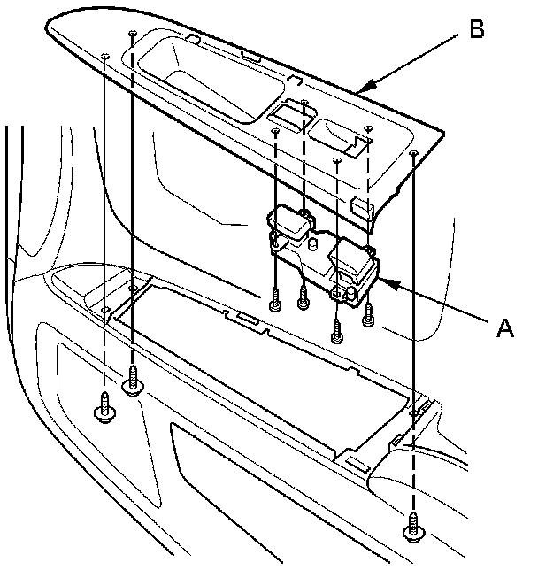
Front Passenger's

1. Remove the front passenger's door panel Service and Repair.

2. Remove the four mounting screws, then remove the power window switch (A) from the switch panel (B).





3. Check for continuity between terminals No. 3 and No.4. There should be continuity.

4. Check for continuity among terminals No. 8, No. 9 and No. 10. There should be continuity.

5. If the continuity is not as specified, replace the front passenger's power window switch. If the continuity is OK, go to step 6.

6. Test the switch by connecting battery power to the terminal No. 6 and connecting ground to the terminal No.9.

7. Measure the battery voltage between terminals No. 9 and No. 10 with the UP operation. There should be battery voltage.

8. Measure the battery voltage between terminals No. 8 and No. 9 with the DOWN operation. There should be battery voltage.

9. If the battery voltage is not as specified, replace the front passenger's power window switch.

10. Install the switch in the reverse order of removal.

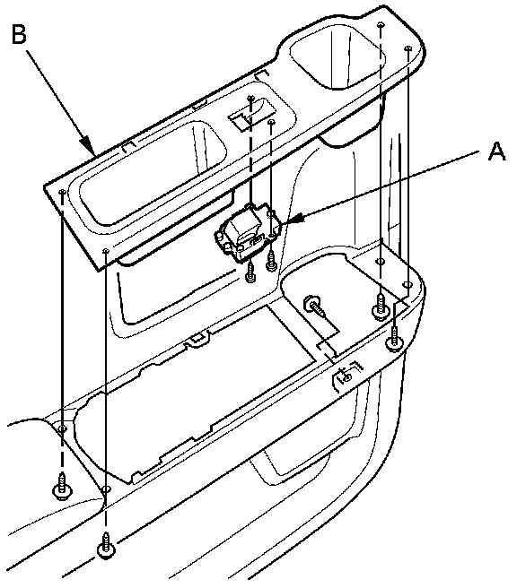
Rear

1. Remove the rear door panel Service and Repair.

2. Remove the two mounting screws, then remove the power window switch (A) from the switch panel (B).





3. Swap the rear power window switch with another known-good switch and test. If the original power window switch is faulty; replace it.

4. Install the switch in the reverse order of removal.