Operation CHARM: Car repair manuals for everyone.
Manuals through 2025 now available!

Our trusted friends have launched a new website named LEMON, which has newer manuals. It also contains all the CHARM manuals.

LEMON is the spiritual successor to CHARM, I recommend you try it!

Link: lemon-manuals.la or lemon-manuals.org.ua

(Some people have issue connecting. LEMON is investigating. For now, use Firefox or change your DNS server)

Or, hide this message: temporarily or permanently

Radiator Replacement




Radiator Replacement

1. Do the battery removal procedure.

2. Remove the harness clamps, then remove the battery base.

3. Remove the front grille cover:

- 2-door
- 4-door Front Grille Cover Replacement (4-Door)

4. Remove the water separator (A) and the intake air duct (B).






5. Drain the engine coolant Service and Repair.

6. Remove the front splash shield.

7. A/T (without ATF warmer): Disconnect the ATF cooler hoses (A) Service and Repair, then plug the cooler hoses and the lines.






8. Disconnect the lower radiator hose (B) from the radiator.

9. Disconnect the fan motor connectors (A) and the ECT sensor 2 connector (B), then remove the harness clamps (C).






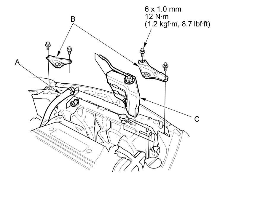
10. Disconnect the upper radiator hose (A) and remove the upper brackets (B) and the coolant reservoir (C).






11. Remove the radiator.

12. Remove the fan shroud assemblies from the radiator.





13. Install the radiator in the reverse order of removal. Make sure the upper and lower cushions (4) are set securely.

14. A/T (without ATF warmer): Refill the transmission with the ATF ATF Replacement.

15. Do the battery installation procedure.

16. Fill the radiator with engine coolant, and bleed the air from the cooling system Service and Repair.

17. Clean up any spilled engine coolant.