Operation CHARM: Car repair manuals for everyone.
Manuals through 2025 now available!

Our trusted friends have launched a new website named LEMON, which has newer manuals. It also contains all the CHARM manuals.

LEMON is the spiritual successor to CHARM, I recommend you try it!

Link: lemon-manuals.la or lemon-manuals.org.ua

(Some people have issue connecting. LEMON is investigating. For now, use Firefox or change your DNS server)

Or, hide this message: temporarily or permanently

Center Console Armrest Replacement




Center Console Armrest Replacement

Special Tools Required

- KTC Trim Tool Set SOJATP2014
*

NOTE:

- Take care not to scratch the center console.
- Use the appropriate tool from the KTC trim tool set to avoid damage when removing components.

1. Remove the center console Center Console Removal/Installation.

2. Remove the screws securing the driver's side panel (A) and the passenger's side panel (B) from the console box (C), and slide both panels forward to release the ribs (D) (four places) of the panels from the hooks (E) (four places) of the box, then remove the panels.





3. For some models: Open the console armrest (F), and remove the box tray (G) by pulling it up.

4. With rear ventilation: If necessary, remove the screws, then remove the console bracket (A) from behind the console box (B).






5. With rear ventilation: If necessary, remove the screws, then remove the left side duct (A) and the right side duct (B) from the console box (C).






6. With rear ventilation: Close the console armrest. Remove the screws, then remove the box trim (A) from behind the console box (B).





7. With rear ventilation: Open the console armrest.

8. Remove the screws, then remove the left box rail (A) and the right box rail (B) by pulling them up from the console box (C).






9. Remove the E-clips (A) and the hinge pin (B) from the console armrest (C) and the console box (D).






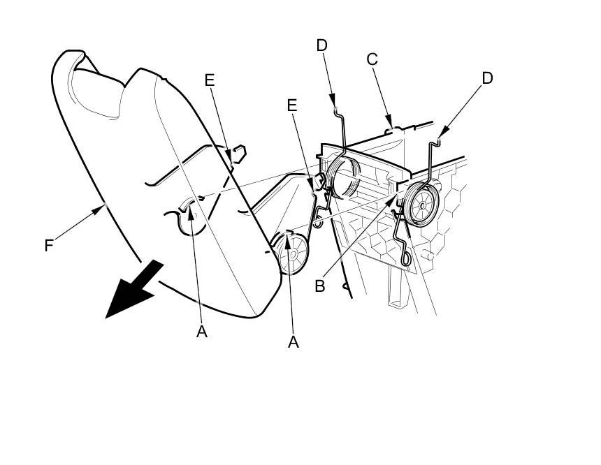
10. From both rear sides of the console box (A), release the opening springs (B) from the bosses (C) of the box, and close the console armrest (D). This rotates the opening springs into the notches (E) on the box.






11. While passing the gear areas (A) of both sides through the notches (B) in the console box (C) and releasing the ends of the opening springs (D) from the notches (E), slide the console armrest (F) rearward, then remove it. Remove the opening springs from the box.





12. Install the armrest in the reverse order of removal, and note these items:

- Replace the E-clips with new ones.
- Make sure the ribs of the driver's side panel and the passenger's side panel are engaged to the hooks of the console box securely.