Operation CHARM: Car repair manuals for everyone.
Manuals through 2025 now available!

Our trusted friends have launched a new website named LEMON, which has newer manuals. It also contains all the CHARM manuals.

LEMON is the spiritual successor to CHARM, I recommend you try it!

Link: lemon-manuals.la or lemon-manuals.org.ua

(Some people have issue connecting. LEMON is investigating. For now, use Firefox or change your DNS server)

Or, hide this message: temporarily or permanently

Rearview Mirror Replacement




Rearview Mirror Replacement

Without Automatic Dimming Mirror

1. Turn the rearview mirror base (A) 90 °.






2. Slide the rearview mirror base (A) down toward the bottom of the windshield to detach it from the spring (B) in the mount (C).





3. If necessary, remove the spring from the mount.

4. Install the rearview mirror in the reverse order of removal.

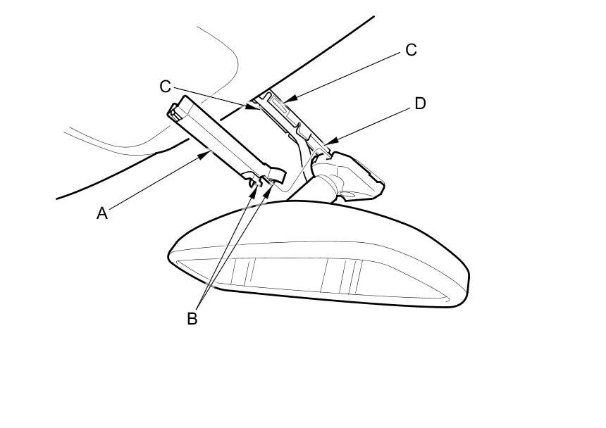
With Automatic Dimming Mirror

1. Pry out the rearview mirror harness cover (A) to release the hooks (B), then slide the cover rearward, and remove the cover by releasing the hooks (C) of the rearview mirror harness cover base (D).






2. Disconnect the rearview mirror connector (A).






3. Loosen the screw with a TORX T20 bit, then slide the rearview mirror (A) rearward and off the mount (B).





4. Install the mirror in the reverse order of removal, and note these items:

- Before installing the mirror, remove the TORX screw, and apply medium strength liquid thread lock to it.
- Make sure the connector is plugged in properly.

- Push the hooks into place securely.