Front Splash Shield Replacement
Front Splash Shield Replacement
NOTE:
- Put on gloves to protect your hands.
- Take care not to scratch the front bumper or the body.
- When prying with a flat-tip screwdriver, wrap it with protective tape to prevent damage.
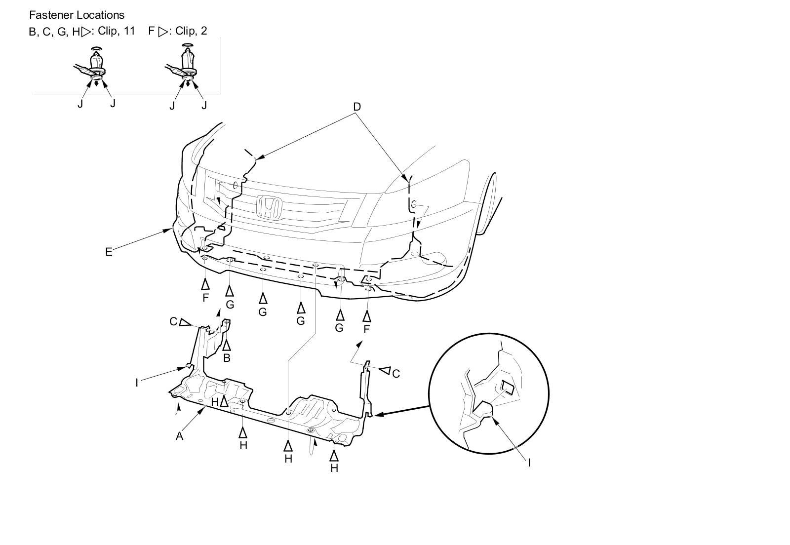
- 4-door is shown; 2-door is similar.
1. Remove the front wheel Service and Repair.
2. Remove the front splash shield (A).
1. Detach the clip (B) that secures the front splash shield to the body.
2. Detach the clips (C) that secure the front inner fenders (D) and the front splash shield to the body.
3. From under the front bumper (E), detach the clips (F) that secure the front bumper, the front inner fender, and the front splash shield to the body.
4. From under the front bumper, detach the clips (G) that secure the front bumper and the front splash shield to the body.
5. From under the body, detach the clips (H) that secure the front splash shield to the front subframe.
6. Release the hooks (I) of the front splash shield, then pull out the splash shield.
NOTE: To release the clips, pry up on the center pin at the notch (J).
3. Install the splash shield in the reverse order of removal, and note these items:
- If the clips are damaged or stress-whitened, replace them with new ones.
- Push the clips and the hooks into place securely.