Operation CHARM: Car repair manuals for everyone.
Manuals through 2025 now available!

Our trusted friends have launched a new website named LEMON, which has newer manuals. It also contains all the CHARM manuals.

LEMON is the spiritual successor to CHARM, I recommend you try it!

Link: lemon-manuals.la or lemon-manuals.org.ua

(Some people have issue connecting. LEMON is investigating. For now, use Firefox or change your DNS server)

Or, hide this message: temporarily or permanently

Intake Manifold Removal/Installation




Intake Manifold Removal and Installation

Exploded View

J35Z2 engine





Exploded View

J35Z3 engine





NOTE: Refer to the Exploded View if needed during this procedure.

Removal

1. Remove the strut brace Frame Brace Replacement.

2. Remove the engine cover.






3. Disconnect the MAP sensor connector (A) and the breather pipe (B), then remove the intake air duct (C).






4. J35Z2 engine: Disconnect the throttle body connector (A), the EVAP canister purge valve connector (B), the EVAP hose (C), and the brake booster vacuum hose (D).





5. Disconnect and plug the water bypass hoses (E).

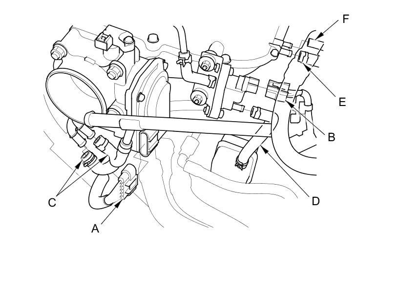
6. J35Z3 engine: Disconnect the throttle body connector (A), the EVAP canister purge valve connector (B), the EVAP hose (C), the brake booster vacuum hose (D), and the vacuum hose (E).





7. Disconnect and plug the water bypass hoses (F).

8. J35Z2 engine: Disconnect the PCV hose (A), then remove the upper cover mounting bolts and nuts sequentially in three steps, then remove the upper cover (B).






9. J35Z3 engine: Disconnect the PCV hose (A) and the IMT actuator connector (B), then remove the upper cover mounting bolts and nuts sequentially in three steps, then remove the upper cover (C).






10. Remove the intake manifold mounting bolts and nuts sequentially in three steps, then remove the intake manifold.






Installation

1. Install the intake manifold. Tighten the bolts and nuts sequentially in three steps. Always use a new intake manifold gasket.










2. J35Z2 engine: Install the upper cover (A). Tighten the bolts and nuts sequentially in three steps. Always use a new gasket, then connect the PCV hose (B).










3. J35Z3 engine: Install the upper cover (A). Tighten the bolts and nuts sequentially in three steps. Always use a new gasket, then connect the PCV hose (B) and the IMT actuator connector (C).










4. J35Z2 engine: Connect the throttle body connector (A), the EVAP canister purge valve connector (B), the water bypass hoses (C), the EVAP hose (D), and the brake booster vacuum hose (E).






5. J35Z3 engine: Connect the throttle body connector (A), the EVAP canister purge valve connector (B), the water bypass hoses (C), the EVAP hose (D), brake booster vacuum hose (E), and the vacuum hose (F).






6. Install the intake air duct (A), then connect the breather pipe (B) and the MAP sensor connector (C).

NOTE:

- '08-09 models: Before you torque the hose clamp screw (D), align the edge of the clamp (E) with the painted mark (F).
- '10-12 models: After you torque the hose clamp screw (G), mark sure the clearance (H) is less than 1.0 mm (0.039 in).





7. Clean up any spilled engine coolant.

8. After installation, check that all tubes, hoses, and connectors are installed correctly.

9. Install the engine cover.





10. Install the strut brace Frame Brace Replacement.

11. Refill the radiator with engine coolant, and bleed the air from the cooling system Service and Repair.