Operation CHARM: Car repair manuals for everyone.
Manuals through 2025 now available!

Our trusted friends have launched a new website named LEMON, which has newer manuals. It also contains all the CHARM manuals.

LEMON is the spiritual successor to CHARM, I recommend you try it!

Link: lemon-manuals.la or lemon-manuals.org.ua

(Some people have issue connecting. LEMON is investigating. For now, use Firefox or change your DNS server)

Or, hide this message: temporarily or permanently

Rocker Arm Assembly: Testing and Inspection






VTEC Rocker Arm Test









Removal

1. Ignition Coil Cover





1. Remove the ignition coil cover.

2. Ignition Coil





1. Remove the ignition coils.

3. Cylinder Head Cover





1. Remove the dipstick (A).

2. Disconnect the breather hose (B).

3. Remove the two bolts (C).





4. Remove the cylinder head cover.

Test

1. VTEC Rocker Arm - Test





1. Rotate the crankshaft pulley clockwise. Make sure that the intake secondary rocker arm (A) and the intake mid rocker arm (B) are separated and that the intake secondary rocker arm and the intake mid rocker arm should move independently:

* If the mid and secondary rocker arms move together, remove the mid, primary, and secondary rocker arms as an assembly, and check that the pistons in the rocker arms move smoothly. If any rocker arm needs replacing, replace the mid, primary, and secondary rocker arms as an assembly, then retest.
* If the secondary rocker arm moves independently, go to step 2.





2. Set the No. 1 piston at top dead center (TDC). The punch mark (A) on the VTC actuator and the punch mark (B) on the exhaust camshaft sprocket should be at the top. Align the TDC marks (C) on the VTC actuator and the exhaust camshaft sprocket.

3. Select the correct feeler gauge for the valve clearance you are going to check.
















4. Insert the feeler gauge (A) between the adjusting screw (B) and the end of the valve stem on the No.1 cylinder, and slide it back and forth; you should feel a slight amount of drag.





5. If you feel too much or too little drag, loosen the locknut with the locknut wrench and the adjuster, and turn the adjusting screw until the drag on the feeler gauge is correct.

6. Tighten the locknut to the specified torque, and recheck the clearance. Repeat the adjustment if necessary.












7. Rotate the crankshaft 180 ° clockwise (camshaft pulley turns 90 °).

8. Check and, if necessary, adjust the valve clearance on the No. 3 cylinder.





9. Rotate the crankshaft 180 ° clockwise (camshaft pulley turns 90 °).

10. Check and, if necessary, adjust the valve clearance on the No. 4 cylinder.





11. Rotate the crankshaft 180 ° clockwise (camshaft pulley turns 90 °).

12. Check and, if necessary, adjust the valve clearance on the No. 2 cylinder.





13. Check that the air pressure on the shop air compressor gauge indicates over 400 kPa (4.08 kgm/cm2, 58.0 psi).

14. Remove the sealing bolt (A) from the relief hole, and install the VTEC air stopper (B).

15. Remove the No. 2 and No. 3 camshaft holder bolts, and install the VTEC air adapters (C) finger-tight.

16. Connect the air joint adapter (D) and the air pressure regulator (E).

17. Loosen the valve on the air pressure regulator, and apply the specified air pressure.












18. With the specified air pressure applied, rotate the crankshaft pulley clockwise. The secondary rocker arm (A) should move together with the mid rocker arm (B) and the primary rocker arm (C):

* If the mid, primary, and secondary rocker arms move independently, remove the mid, primary, and the secondary rocker arms as an assembly, and check that the pistons in the rocker arms move smoothly. If any rocker arm needs replacing, replace the mid, primary, and secondary rocker arms as an assembly, then retest.
* If the mid, primary, and secondary rocker arms move together, go to step 19.

19. Remove the air pressure regulator, the air joint adapter, the VTEC air adapters, and the VTEC air stopper.

20. Torque the camshaft holder mounting bolts to 22 Nm (2.2 kgm, 16 lbft).

21. Torque the sealing bolt to 10 Nm (1.0 kgm, 7 lbft).

Installation

1. Cylinder Head Cover





1. Check the spark plug seals for damage. If any seals are damaged, replace it.

2. Thoroughly clean the head cover gasket and the groove.

NOTE: Check and, if necessary, replace the head cover gasket.

3. Install the head cover gasket (A) in the groove of the cylinder head cover (B). Make sure the head cover gasket is seated securely.





4. Remove all of the old liquid gasket from the chain case and the No.5 rocker shaft holder.

5. Clean the head cover contacting surfaces with a shop towel.

6. Apply liquid gasket, (P/N 08718-0004 or 08718-0009) on the chain case and the No. 5 rocker shaft holder mating areas (A). Install the component within 5 minutes of applying the liquid gasket.

NOTE: If too much time has passed after applying the liquid gasket, remove the old liquid gasket and residue, then reapply new liquid gasket.





7. Set the spark plug seals (A) on the spark plug tubes. Place the cylinder head cover (B) on the cylinder head, then slide the cover slightly back and forth to seat the head cover gasket.

8. Inspect the spark plug seals for damage.

9. Inspect the cover washers (C). Replace any washer that is damaged or deteriorated.





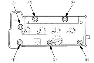
10. Tighten the bolts in two steps. In the final step torque bolts, in sequence, to 12 Nm (1.2 kgm, 9 lbft).

NOTE:
* Wait at least 30 minutes before filling the engine with oil.
* Do not run the engine for at least 3 hours after installing the head cover.





11. Install the two bolts (A).

12. Connect the breather hose (B).

13. Install the dipstick (C).

2. Ignition Coil





1. Install the ignition coils.

3. Ignition Coil Cover





1. Install the ignition coil cover.