Operation CHARM: Car repair manuals for everyone.
Manuals through 2025 now available!

Our trusted friends have launched a new website named LEMON, which has newer manuals. It also contains all the CHARM manuals.

LEMON is the spiritual successor to CHARM, I recommend you try it!

Link: lemon-manuals.la or lemon-manuals.org.ua

(Some people have issue connecting. LEMON is investigating. For now, use Firefox or change your DNS server)

Or, hide this message: temporarily or permanently

Part Two




Valve Guide Replacement





























*Available through the Honda Tool and Equipment Program 888-424-6857.


Installation

26. Crankshaft Pulley





1. Clean the crankshaft pulley (A), the crankshaft (B), the bolt (C), and the washer (D). Lubricate with new engine oil as shown.





2. Install the crankshaft pulley, and hold the pulley with the holder handle (A) and the crankshaft pulley holder (B).

3. Torque the bolt to 50 Nm (5.1 kgm, 37 lbft) with a torque wrench and a socket, 19mm(C). Do not use an impact wrench. If the pulley bolt or crankshaft are new, torque the bolt to 177 Nm (18.0 kgm, 131 lbft), then remove the bolt and torque it to 50 Nm (5.1 kgm, 37 lbft).

4. Tighten the pulley bolt an additional 90 °.

27. VTC Oil Control Solenoid Valve





1. Install the VTC oil control solenoid valve.

NOTE:
* Coat a new O-ring with engine oil.
* Clean and dry the mating surface of the valve.

28. Cam Chain Case Peripheral Assembly





1. Install the harness clamp.

29. Valve Clearance - Adjustment





1. Set the No. 1 piston at top dead center (TDC). The punch mark (A) on the VTC actuator and the punch mark (B) on the exhaust camshaft sprocket should be at the top. Align the TDC marks (C) on the VTC actuator and the exhaust camshaft sprocket.

2. Select the correct feeler gauge for the valve clearance you are going to check.
















3. Insert the feeler gauge (A) between the adjusting screw (B) and the end of the valve stem on the No.1 cylinder, and slide it back and forth; you should feel a slight amount of drag.





4. If you feel too much or too little drag, loosen the locknut with the locknut wrench and the adjuster, and turn the adjusting screw until the drag on the feeler gauge is correct.

5. Tighten the locknut to the specified torque, and recheck the clearance. Repeat the adjustment if necessary.












6. Rotate the crankshaft 180 ° clockwise (camshaft pulley turns 90 °).

7. Check and, if necessary, adjust the valve clearance on the No. 3 cylinder.





8. Rotate the crankshaft 180 ° clockwise (camshaft pulley turns 90 °).

9. Check and, if necessary, adjust the valve clearance on the No. 4 cylinder.





10. Rotate the crankshaft 180 ° clockwise (camshaft pulley turns 90 °).

11. Check and, if necessary, adjust the valve clearance on the No. 2 cylinder.

30. Cylinder Head Cover





1. Check the spark plug seals for damage. If any seals are damaged, replace it.

2. Thoroughly clean the head cover gasket and the groove.

NOTE: Check and, if necessary, replace the head cover gasket.

3. Install the head cover gasket (A) in the groove of the cylinder head cover (B). Make sure the head cover gasket is seated securely.





4. Remove all of the old liquid gasket from the chain case and the No.5 rocker shaft holder.

5. Clean the head cover contacting surfaces with a shop towel.

6. Apply liquid gasket, (P/N 08718-0004 or 08718-0009) on the chain case and the No. 5 rocker shaft holder mating areas (A). Install the component within 5 minutes of applying the liquid gasket.

NOTE: If too much time has passed after applying the liquid gasket, remove the old liquid gasket and residue, then reapply new liquid gasket.





7. Set the spark plug seals (A) on the spark plug tubes. Place the cylinder head cover (B) on the cylinder head, then slide the cover slightly back and forth to seat the head cover gasket.

8. Inspect the spark plug seals for damage.

9. Inspect the cover washers (C). Replace any washer that is damaged or deteriorated.





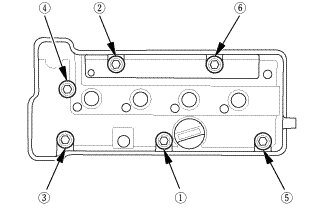
10. Tighten the bolts in two steps. In the final step torque bolts, in sequence, to 12 Nm (1.2 kgm, 9 lbft).

NOTE:
* Wait at least 30 minutes before filling the engine with oil.
* Do not run the engine for at least 3 hours after installing the head cover.





11. Install the two bolts (A).

12. Connect the breather hose (B).

13. Install the dipstick (C).

31. Ignition Coil





1. Install the ignition coils.

32. Ignition Coil Cover





1. Install the ignition coil cover.

33. Cylinder Head Peripheral Assembly





1. Install the EVAP canister purge valve bracket (A).

34. Upper Radiator Hose Engine Side - Disconnection/Reconnection





1. Connect the upper radiator hose.

35. Heater Hose - Reconnection Engine Side





1. Connect the heater hoses.

36. WU-TWC





1. Install the upper side of the WU-TWC (A) with a new gasket (B).

2. Install the WU-TWC cover (C).





3. Install the lower side of the WU-TWC with a new gasket (A).

37. A/F Sensor





1. Install the A/F sensor.

38. Rocker Arm Oil Control Valve





1. Install the engine wire harness bracket (A).

2. Install the rocker arm oil control valve assembly (B) and the rocker arm oil control valve filter (C).

39. Engine Peripheral Hose - Reconnection





1. Connect the EVAP canister hose (A) and the brake booster vacuum hose (B).

40. Injector Base Assembly





1. Install the injector base (A) with a new gasket (B).

41. Injector and Fuel Rail Assembly





1. Install the injectors and fuel rail (A) together.

42. Engine Wire Harness Holder - Move





1. Install the engine wire harness holder (A).

2. Connect the connectors, and install the engine ground terminals.

43. Intake Manifold Assembly





1. Connect the PCV hose (A).





2. Install the intake manifold (A) with new gaskets (B).





3. Install the intake manifold lower bracket.

44. Throttle Body - Move





1. Install the throttle body (A) with a new gasket (B).





2. Install the harness clamp bracket (A).

3. Connect the connector (B).





4. Connect the EVAP canister hose (A) and the brake booster vacuum hose (B).

45. Intake Air Duct





1. Install the intake air duct.

46. Air Cleaner Assembly





1. Install the air cleaner (A).

2. Connect the intake air pipe (B) and the intake air duct (C).

3. Install the harness clamp (D).

4. Connect the MAF sensor/IAT sensor connector (E).

47. Drive Belt





1. Install the drive belt.

48. Fuel Line/Quick-Connect Fitting - Connection




NOTE: Before you work on the fuel lines and fittings, read the Fuel Line/Quick-Connect Fitting Precautions. Service Precautions

1. Connect the quick-connect fitting (A) to the fuel rail.

49. Tubes, Hoses, and Connectors After Installation Check

1. After installation, check that all tubes, hoses, and connectors are installed correctly.

50. Under-Cowl Panel





1. Install the under-cowl panel (A), then install the bolts and the nuts.

2. Install the wire harness (B) to the under-cowl panel.

3. Connect the connector (C).