Operation CHARM: Car repair manuals for everyone.
Manuals through 2025 now available!

Our trusted friends have launched a new website named LEMON, which has newer manuals. It also contains all the CHARM manuals.

LEMON is the spiritual successor to CHARM, I recommend you try it!

Link: lemon-manuals.la or lemon-manuals.org.ua

(Some people have issue connecting. LEMON is investigating. For now, use Firefox or change your DNS server)

Or, hide this message: temporarily or permanently

Part One




Valve Seat Reconditioning

























*Available through the Honda Tool and Equipment Program 888-424-6857.


Installation

1. Valve Seal and Valve Spring Seat





1. Coat the valve stems with new engine oil. Install the valves in the valve guides.

2. Install the valves in the valve guides.

3. Check that the valves move up and down smoothly.





4. Install the spring seats on the cylinder head.





5. Install the new valve seals (A) using the 5.5 mm side of the stem seal driver (B).

NOTE: The exhaust valve seal (C) has a black spring (D), and the intake valve seal (E) has a white or silver spring (F); they are not interchangeable.

6. Install the valve spring and the spring retainer. Place the end of the valve spring with the closely wound coils toward the cylinder head.

2. Valve and Valve Spring





1. Install the valve spring compressor attachment and the valve spring compressor. Compress the valve spring, and install the valve cotters.

2. Remove the valve spring compressor and the valve spring compressor attachment.





3. Lightly tap the end of each valve stem two or three times with a plastic mallet (A) to ensure proper seating of the valve and the valve cotters. Tap the valve stem only along its axis so you do not bend the stem.

NOTE: Be sure to raise the head off the work bench so the valve is not possibly damaged.

3. Set The Crankshaft To Top Dead Center





1. Set the crankshaft to top dead center (TDC). Align the TDC mark (A) on the crankshaft sprocket with the pointer (B) on the engine block.

4. Cylinder Head Assembly





1. Clean the cylinder head and the engine block surface.

2. Install the new cylinder head gasket (A) and the dowel pins (B) on the engine block. Always use a new cylinder head gasket.

3. Install the cylinder head on the engine block.





4. Measure the diameter of each cylinder head bolt at point A and point B.

5. If either diameter is less than 10.6 mm (0.417 in), replace the cylinder head bolt.

6. Apply new engine oil to the threads and under the bolt heads of all cylinder head bolts.





7. Torque the cylinder head bolts in sequence to 39 Nm (4.0 kgm, 29 lbft). Use a beam-type torque wrench. When using a preset click-type torque wrench, be sure to tighten slowly and do not overtighten. If a bolt makes any noise while you are torquing it, loosen the bolt and retighten it from the first step.





8. After torquing, tighten all cylinder head bolts in two steps (90 ° per step) using the sequence shown in step 9. If you are using a new cylinder head bolt, tighten the bolt an extra 90 °.

NOTE: Remove the cylinder head bolt if you tightened it beyond the specified angle, and go back to step 6 of the procedure. Do not loosen it back to the specified angle.

5. Rocker Arm Assembly





1. Clean and dry the No. 5 rocker shaft holder mating surface.

2. Apply liquid gasket (P/N 08718-0004 or 08718-0009) to the cylinder head mating surface of the No. 5 rocker shaft holder and to the inside edge of the threaded bolt holes. Install the component within 5 minutes of applying the liquid gasket.

NOTE:
* Apply a 2.5 mm (0.098 in) diameter bead of liquid gasket along the broken line (A).
* If too much time has passed after applying the liquid gasket, remove the old liquid gasket and residue, then reapply new liquid gasket.





3. Install the lost motion assembly in the cylinder head.

NOTE: Apply new engine oil to the lost motion assembly.

4. Insert the bolts (A) into the rocker shaft holder, then install the rocker arm assembly (B) on the cylinder head.

5. Remove the bolts from the rocker shaft holder.

6. Camshaft





1. Remove the wire tie while keeping light tension on the cam chain.

2. Install the exhaust camshaft.

3. Slide the exhaust camshaft in at an angle to allow the cam chain to slip over the VTC actuator's teeth.





4. Set the No. 1 piston at top dead center (TDC). The punch mark (A) on the VTC actuator and the punch mark (B) on the exhaust camshaft sprocket should be at the top. Align the TDC marks (C) on the VTC actuator and the exhaust camshaft sprocket.

5. Apply new engine oil to the camshaft journals and lobes on both cams.

7. Camshaft Holder





1. Set the camshaft holders (A) and cam chain guide B in place.





2. Tighten the bolts to the specified torque.








8. Cam Chain





1. To hold the intake camshaft, insert one of the camshaft lock pins (C) into the maintenance hole in CMP pulse plate A and through the No. 5 rocker shaft holder (D).

2. To hold the exhaust camshaft, insert the other camshaft lock pin (C) into the maintenance hole in CMP pulse plate B and through the No. 5 rocker shaft holder (D).





3. Install the cam chain on the crankshaft sprocket with the colored link plate (A) aligned with the mark (B) on the crankshaft sprocket.





4. Install the cam chain on the VTC actuator and the exhaust camshaft sprocket with the punch marks (A) aligned with the center of the two colored link plates (B).

9. Cam Chain Tensioner Arm and Cam Chain Guide





1. Install cam chain guide A and the tensioner arm (B).





2. Install cam chain guide B.

10. Cam Chain Auto-Tensioner





1. Compress the auto-tensioner when replacing the cam chain. Remove the pin (A) from the auto-tensioner that was installed during removal. Turn the plate (B) counterclockwise, to release the lock, then press the rod (C), and set the first cam (D) to the first edge of the rack (E). Insert the 1.2 mm (3/64 in) diameter pin back into the holes (F).

NOTE: If the chain tensioner is not set up as described, the tensioner will be damaged.





2. Install the auto-tensioner.





3. Remove the pin from the auto-tensioner.





4. Remove the camshaft lock pin set.

11. Cam Chain Case





1. Check the chain case oil seal for damage. If the oil seal is damaged, replace the chain case oil seal.

2. Remove the old liquid gasket from the chain case mating surfaces, the bolts, and the bolt holes.

3. Clean and dry the chain case mating surfaces.

4. Apply liquid gasket (P/N 08718-0004 or 08718-0009) to the engine block mating surface of the chain case and to the inside edge of the threaded bolt holes. Install the component within 5 minutes of applying the liquid gasket.

* Apply a 2.5 mm (0.098 in) diameter bead of liquid gasket along the broken line (A) and (B).
* Apply a 3.0 mm (0.118 in) diameter bead of liquid gasket along the broken line (C).
* If too much time has passed after applying the liquid gasket, remove the old liquid gasket and residue, then reapply new liquid gasket.





5. Apply liquid gasket (P/N 08718-0004 or 08718-0009) to the oil pan mating surface of the chain case, and to the inside edge of the threaded bolt holes. Install the component within 5 minutes of applying the liquid gasket.

NOTE:
* Apply a 2.5 mm (0.098 in) diameter bead of liquid gasket along the broken line (A).
* Apply a 3.0 mm (0.118 in) diameter bead of liquid gasket along the broken line (B).
* If too much time has passed after applying the liquid gasket, remove the old liquid gasket and residue, then reapply new liquid gasket.









6. Install the spacer (A), then install a new O-ring (B) on the chain case. Set the edge of the chain case (C) to the edge of the oil pan (D), then install the chain case on the engine block (E). Wipe off the excess liquid gasket on the oil pan and the chain case mating area.

NOTE:
* When installing the chain case, do not slide the bottom surface onto the oil pan mounting surface.
* Wait at least 30 minutes before filling the engine with oil.
* Do not run the engine for at least 3 hours after installing the chain case.

12. Side Engine Mount Bracket, Engine Side





1. Install the side engine mount bracket (A), then tighten the side engine mount bracket mounting bolts.

13. Side Engine Mount





1. Install the side engine mount.





2. Loosely install the new side engine mount bracket using a new bolt and a new bolt.

3. Install the ground cable.

14. Transmission Mount - Loosen





1. Loosen the transmission mount bracket bolt and nuts (A).

15. Lower Torque Rod Mounting Bolt - Loosen





1. Loosen the lower torque rod mounting bolt (A).

16. Front Engine Mount Mounting Bolt - Loosen





1. Loosen the front engine mount bolt (A).

17. Side Engine Mount - Tighten





1. Tighten the side engine mount bracket mounting bolt and nut.

18. Transmission Mount - Tighten





1. Tighten the transmission mount bracket mounting bolt and nuts.

19. Lower Torque Rod Bolt - Tighten





1. Tighten the lower torque rod mounting bolt (A).

20. Upper Torque Rod





1. Install the upper torque rod using new bolts.

2. Tighten the upper torque rod mounting bolts in the numbered sequence shown.

21. Front Engine Mount Mounting Bolt - Tighten





1. Tighten the front engine mount mounting bolt.

22. Crankshaft Pulley





1. Clean the crankshaft pulley (A), the crankshaft (B), the bolt (C), and the washer (D). Lubricate with new engine oil as shown.





2. Install the crankshaft pulley, and hold the pulley with the holder handle (A) and the crankshaft pulley holder (B).

3. Torque the bolt to 50 Nm (5.1 kgm, 37 lbft) with a torque wrench and a socket, 19mm(C). Do not use an impact wrench. If the pulley bolt or crankshaft are new, torque the bolt to 177 Nm (18.0 kgm, 131 lbft), then remove the bolt and torque it to 50 Nm (5.1 kgm, 37 lbft).

4. Tighten the pulley bolt an additional 90 °.

23. VTC Oil Control Solenoid Valve





1. Install the VTC oil control solenoid valve.

NOTE:
* Coat a new O-ring with engine oil.
* Clean and dry the mating surface of the valve.

24. Cam Chain Case Peripheral Assembly





1. Install the harness clamp.

25. Valve Clearance - Adjustment





1. Set the No. 1 piston at top dead center (TDC). The punch mark (A) on the VTC actuator and the punch mark (B) on the exhaust camshaft sprocket should be at the top. Align the TDC marks (C) on the VTC actuator and the exhaust camshaft sprocket.

2. Select the correct feeler gauge for the valve clearance you are going to check.
















3. Insert the feeler gauge (A) between the adjusting screw (B) and the end of the valve stem on the No.1 cylinder, and slide it back and forth; you should feel a slight amount of drag.





4. If you feel too much or too little drag, loosen the locknut with the locknut wrench and the adjuster, and turn the adjusting screw until the drag on the feeler gauge is correct.

5. Tighten the locknut to the specified torque, and recheck the clearance. Repeat the adjustment if necessary.












6. Rotate the crankshaft 180 ° clockwise (camshaft pulley turns 90 °).

7. Check and, if necessary, adjust the valve clearance on the No. 3 cylinder.





8. Rotate the crankshaft 180 ° clockwise (camshaft pulley turns 90 °).

9. Check and, if necessary, adjust the valve clearance on the No. 4 cylinder.





10. Rotate the crankshaft 180 ° clockwise (camshaft pulley turns 90 °).

11. Check and, if necessary, adjust the valve clearance on the No. 2 cylinder.

26. Cylinder Head Cover





1. Check the spark plug seals for damage. If any seals are damaged, replace it.

2. Thoroughly clean the head cover gasket and the groove.

NOTE: Check and, if necessary, replace the head cover gasket.

3. Install the head cover gasket (A) in the groove of the cylinder head cover (B). Make sure the head cover gasket is seated securely.





4. Remove all of the old liquid gasket from the chain case and the No.5 rocker shaft holder.

5. Clean the head cover contacting surfaces with a shop towel.

6. Apply liquid gasket, (P/N 08718-0004 or 08718-0009) on the chain case and the No. 5 rocker shaft holder mating areas (A). Install the component within 5 minutes of applying the liquid gasket.

NOTE: If too much time has passed after applying the liquid gasket, remove the old liquid gasket and residue, then reapply new liquid gasket.





7. Set the spark plug seals (A) on the spark plug tubes. Place the cylinder head cover (B) on the cylinder head, then slide the cover slightly back and forth to seat the head cover gasket.

8. Inspect the spark plug seals for damage.

9. Inspect the cover washers (C). Replace any washer that is damaged or deteriorated.





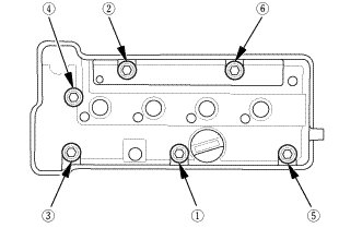
10. Tighten the bolts in two steps. In the final step torque bolts, in sequence, to 12 Nm (1.2 kgm, 9 lbft).

NOTE:
* Wait at least 30 minutes before filling the engine with oil.
* Do not run the engine for at least 3 hours after installing the head cover.





11. Install the two bolts (A).

12. Connect the breather hose (B).

13. Install the dipstick (C).

27. Ignition Coil





1. Install the ignition coils.

28. Ignition Coil Cover





1. Install the ignition coil cover.

29. Cylinder Head Peripheral Assembly





1. Install the EVAP canister purge valve bracket (A).

30. Upper Radiator Hose Engine Side - Disconnection/Reconnection





1. Connect the upper radiator hose.