Operation CHARM: Car repair manuals for everyone.
Manuals through 2025 now available!

Our trusted friends have launched a new website named LEMON, which has newer manuals. It also contains all the CHARM manuals.

LEMON is the spiritual successor to CHARM, I recommend you try it!

Link: lemon-manuals.la or lemon-manuals.org.ua

(Some people have issue connecting. LEMON is investigating. For now, use Firefox or change your DNS server)

Or, hide this message: temporarily or permanently

Steering Column Lock: Service and Repair






Steering Lock Removal and Installation

Removal

SRS components are located in this area. Review the SRS component locations Pinout Values and Diagnostic Parameters, and the precautions and procedures Locations before doing repairs or service.

1. Battery Terminal (SRS) - Disconnection





1. Make sure the ignition switch is in LOCK (0).

2. Disconnect and isolate the negative cable (A) from the battery.

NOTE: Always disconnect the negative side first.

3. Disconnect the positive cable (B) from the battery.

4. Wait at least 3 minutes before starting work.

2. Driver's Airbag





1. Remove the access panel (A).

2. Disconnect the driver's airbag inflator connector (B) on the cable reel harness.

3. Disconnect the horn switch connector (C).





4. Remove the TORX bolts using a TORX T30 bit.

5. Remove the driver's airbag (A).

3. Steering Wheel Assembly





1. Set the front wheels in the straight ahead position.

2. Disconnect the connector (A).

3. Loosen the steering wheel bolt (B) three turns.





4. Install a commercially available steering wheel puller (A) on the steering wheel (B).

5. Free the steering wheel from the steering column shaft by turning the pressure bolt (C) of the puller.

Note these items when removing the steering wheel:
* Do not tap on the steering wheel or the steering column shaft when removing the steering wheel.
* If you thread the puller bolts (D) into the wheel hub more than five threads, the bolts will hit the cable reel and damage it. To prevent this, install a pair of jam nuts five threads up on each puller bolt.





6. Remove the steering wheel puller.

7. Remove the steering wheel (A) from the steering column.

4. Upper Column Cover





1. Carefully pry out the dashboard meter visor blind cover (A) with the appropriate trim tool to detach the clips (B) and the hook (C), then tuck up the dashboard meter visor blind cover.





2. Remove the upper column cover (A).

5. Lower Column Cover





1. Remove the screws (A) securing the lower column cover (B) from the front side.





2. Remove the screw (A), then remove the lower column cover (B).

6. Combination Switch Body Assembly





1. Disconnect the connectors (A).

2. Remove the clip (B).





3. Disconnect the connectors (A).





4. Remove the combination switch body assembly (A) from the steering column shaft.

7. Immobilizer-Keyless Control Unit





1. Disconnect the connector.

2. Remove the immobilizer-keyless control unit (A).

8. Steering Joint Cover





1. Remove the steering joint cover (A).

9. Steering Column Lower Slide Shaft - Hold





1. Set the steering column to the center tilt position, and to the center telescopic position.

2. Hold the lower slide shaft (A) on the column with a piece of wire (B) between the joint yoke (C) of the lower slide shaft and the joint yoke (D) of the upper shaft to prevent the lower slider shaft from pulling out.

10. Steering Joint - Disconnection





1. Remove the steering joint bolt (A).

2. Disconnect the steering joint (B) from the pinion shaft.

NOTE:
* If the center guide (C) is in place and has not moved, leave it in place.
* If the center guide has come off, discard it.

11. Steering Column

1. Disconnect the connectors (A) from the ignition switch (B).






2. Detach the wire harness clips (C) from the steering column.

3. Remove the steering column (D).

NOTE: Do not release the lock lever until the steering column is installed. If the lock lever is released before installation, adjust the steering column after installation.

12. Steering Lock Assembly





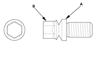
1. Center-punch both of the two shear bolts (A).

2. Drill their heads off with a 5 mm (0.20 in) drill bit. Be careful not to damage the steering lock when removing the shear bolts.

3. Remove the steering lock (B).

Installation

SRS components are located in this area. Review the SRS component locations Pinout Values and Diagnostic Parameters, and the precautions and procedures Locations before doing repairs or service.

1. Steering Lock Assembly





1. Install the steering lock (A) without the key inserted.

2. Loosely tighten the new shear bolts (B).

3. Insert the ignition key, and check for proper operation of the steering wheel lock and that the ignition key turns freely.





4. Tighten the shear bolts (A) until the hex heads (B) twist off.

2. Steering Column

1. Install the steering column (A).

NOTE: Do not release the lock lever until the steering column is installed. If the lock lever is released before installation, adjust the steering column after installation.






2. Loosely tighten the attaching nuts and bolts.

3. Tighten the attaching nuts and bolts to the specified torque in the sequence shown.

4. Install the wire harness clips (B) to the steering column.

5. Connect the connectors (C) to the ignition switch (D).

3. Steering Column Lower Slide Shaft - Release





1. Cut the wire (A).

4. Steering Joint - Reconnection





1. Place the rack in the straight ahead driving position.

2. Slip the lower end of the steering joint (A) onto the pinion shaft (B).

NOTE:
* Pinion shaft with center guide: Install the steering joint by aligning the center guide (C).
* Pinion shaft without center guide: Position the steering column by aligning the gap (D) within the angle.





3. Align the bolt hole (A) on the steering joint with the groove (B) around the pinion shaft.

4. Loosely install the steering joint bolt (C).

5. Be sure that the joint bolt is securely in the groove in the pinion shaft.

6. Pull on the steering joint to make sure that the steering joint is fully seated.

7. Tighten the steering joint bolt to the specified torque.

5. Steering Joint Cover





1. Install the steering joint cover (A).

6. Immobilizer-Keyless Control Unit





1. Install the immobilizer-keyless control unit (A).

2. Connect the connector.

7. Combination Switch Body Assembly





1. Install the combination switch body assembly (A).

2. Tighten three screws (B) in the sequence shown.





3. Connect the connectors (A).





4. Connect the connectors (A).

5. Install the clip (B).

8. Lower Column Cover





1. Install the lower column cover (A), then install the screw (B).





2. Install the screws (A) securing the lower column cover (B) from the front side.

9. Upper Column Cover





1. Install the upper column cover (A).





2. Install the dashboard meter visor blind cover (A). Make sure the clips (B) and the hook (C) snap into place securely.

10. Steering Wheel Assembly





1. Make sure the front wheels are pointing straight ahead.

2. Center the cable reel (A). Do this by first rotating the cable reel clockwise until it stops.

3. Rotate the cable reel counterclockwise about three full turns. The arrow mark (B) on the cable reel label should point straight up.





4. Position the steering wheel hub (A) so that it engages the pin (B) of the cable reel.

5. Install the steering wheel (C) on to the steering column shaft.

NOTE: Do not tap on the steering wheel or the steering column shaft when installing the steering wheel.





6. Install the steering wheel bolt (A), and tighten it to the specified torque.

7. Connect the connector (B).

8. Make sure the wire harness is routed and fastened properly.

11. Driver's Airbag









NOTE: If you are replacing a deployed driver's airbag, inspect the cable reel for heat damage. If there is any damage, replace the cable reel.

1. Place the driver's airbag (A) in the steering wheel.

2. Tighten the new TORX bolts using a TORX T30 bit.

NOTE: Make sure the clearance (B) between the steering wheel and the horn pad is the specified value.





3. Connect the driver's airbag inflator connector (A) on the cable reel harness.

4. Connect the horn switch connector (B).

NOTE: After reconnecting the negative cable to the battery, make sure the horn works properly.

5. Install the access panel (C).

12. Battery Terminal (SRS) - Reconnection





NOTE: If the battery performance is abnormal, test the battery.

1. Clean the battery terminals.

2. Connect the positive cable (A) to the battery.

NOTE: Always connect the positive side first.

3. Connect the negative cable (B) to the battery.

4. Apply multipurpose grease to the terminals to prevent corrosion.

13. Steering After Install - Check

1. After installation, check these items:

* Start the engine, allow it to idle, and turn the steering wheel from lock to lock several times.
* Check that the EPS indicator does not come on.
* Check the steering wheel spoke angle. If steering spoke angles to the right and left are not equal (steering wheel and rack are not centered), correct the engagement of the joint/pinion shaft splines.

14. Pre-Alignment Checks

For proper inspection and adjustment of the wheel alignment, do these checks:

1. Release the parking brake to avoid an incorrect measurement.

2. Make sure the suspension is not modified.

3. Make sure the fuel tank is full, and that the spare tire, the jack, and the tools are in place on the vehicle.

4. Check the tire size and tire pressure according to tire information.

5. Set the steering column to the middle tilt position and telescopic position.

15. Front Toe - Inspection

Use commercially available computerized four wheel alignment equipment to measure wheel alignment (caster, camber, toe, and turning angle). Follow the equipment manufacturer's instructions.

1. Set the steering column to the middle tilt position and telescopic positions.

2. Center the steering wheel spokes, and install a steering wheel holder tool.

3. Check the toe with the wheels pointed straight ahead.

Front toe-in: 0±2 mm (0±0.08 in)
* If adjustment is required, go to the front toe adjustment.
* If no adjustment is required, remove the alignment equipment.

16. HDS DLC - Connection





1. Connect the HDS to the data link connector (DLC) (A) located under the driver's side of the dashboard.

2. Turn the ignition switch to ON (II).

3. Make sure the HDS communicates with the vehicle. If it does not communicate, go to the DLC circuit troubleshooting.

17. VSA Sensor Neutral Position - Memorization

1. Park the vehicle on a flat and level surface, with the steering wheel in the straight ahead position.

2. Select VSA ADJUSTMENT, then select ALL SENSORS with the HDS, and follow the screen prompts.

NOTE: See the HDS Help menu for specific instructions.

18. Steering Angle Sensor Neutral Position - Clear

1. Select EPS ADJUSTMENT, then select EPS STEERING ANGLE SENSOR VALUE CLEAR and follow the screen prompts on the HDS.

NOTE: See the HDS Help menu for specific instructions.

19. Immobilizer Key - Registration

NOTE:
* The HDS is required for registration of the immobilizer keys.
* Programming the immobilizer also programs the keyless transmitter.
* Check for aftermarket electrical equipment that can cause problems with transponder operation.
* The immobilizer-keyless control unit can store up to six immobilizer keys.

1. Prepare all new keys and have the immobilizer PCM code.

2. Select IMMOBI from the SYSTEM SELECTION MENU, then select IMMOBILIZER SETUP.

3. Select ADD AND DELETE KEYS, then ALL KEYS LOST.

4. Do the registration according to the instructions on the HDS screen.

5. Check that the engine can be started with the newly registered keys.

6. When prompted by the HDS, do the keyless transmitter programming.

7. Make sure the keyless transmitter works properly.